3 September 2001. Thanks to BH.

Main text only, Annexes in preparation.


[116 pages, main text; 202 pages, annexes.]

FOR OFFICIAL USE ONLY

CJCSM 6231.05A
2 November 1998


MANUAL FOR EMPLOYING
JOINT TACTICAL
COMMUNICATIONS

JOINT COMMUNICATIONS SECURITY

JOINT STAFF
WASHINGTON, D.C. 20318


FOR OFFICIAL USE ONLY

CHAIRMAN OF THE JOINT
CHIEFS OF STAFF
MANUAL

J-6
DISTRIBUTION: A, B, C, J
                                                                        CJCSM 6231.05A
2 November 1998

MANUAL FOR EMPLOYING JOINT TACTICAL COMMUNICATIONS
JOINT COMMUNICATIONS SECURITY

References: See Appendix J.

1. Purpose. This manual provides a brief description of the COMSEC equipment and outlines COMSEC procedures for operating the common baseline circuit switch network, MS network, CNCE, theater data networks, and point-to-point circuits. The following major topics are addressed:

a. Security information for system planners---circuit switch and point-to-point circuits.

b. Security information for system planners---AN/TYC-39 MS and special data circuits.

c. Security information for system planners---AN/TSQ-111 CNCE and transmission systems.

d. COMSEC equipment description.

e. COMSEC procedures.

f. Keying concepts and management.

g. Joint Staff inter- and intratheater COMSEC package letters of instruction.

h. Data networking security equipment and procedures.

i. COMSEC equipment under development.

2. Cancellation. CJCSM 6231.05, 13 October 1995, "Joint Communications Security," is canceled

3. Applicability. This manual applies to:

a. The combatant command or JTF J-6 directorate (or equivalent office) responsible for joint communications management in a deployed JTF.

b. Components and the assigned joint communications support organization in a JTF.

4. Request for Changes. Submit recommended changes to:

Joint Interoperability and Engineering Office
Attn: JEBBB
Fort Monmouth, NJ 07703-5613

5. Summary of Changes

a. Circuit switch COMSEC procedures were updated to include the CBCS. As these procedures are moved to the main body of the text, procedures for legacy configurations and equipment have been moved to the appendixes.

b. Instructions for ITSDN security were added.

c. NES security guidelines were added.

d. Information about equipment under development was added.

e. Information about the KIV-7 was added.

f. Information about strap and switch settings for specific key generator applications was added.

g. New Joint Staff ICP letters of instruction were added.

6. Releasability. This manual is approved for limited release. DOD components (to include the combatant commands) and other Federal agencies may obtain copies of this manual through controlled Internet access only (limited to .mil and .gov users) from the CJCS Directives Home Page--http://www.dtic.mil/doctrine/jel.htm. Joint Staff activities may access or obtain copies of this manual from the Joint Staff LAN.

7. Effective Date. This manual is effective upon receipt.

For the Chairman of the Joint Chiefs of Staff:

[Signature]

DENNIS C. BLAIR
Vice Admiral, U.S. Navy
Director, Joint Staff


                                             CJCSM 6231.05A 
                                             2 November 1998 
 
             MANUAL FOR EMPLOYING JOINT TACTICAL 
                        COMMUNICATIONS 
                JOINT COMMUNICATIONS SECURITY 

                   LIST OF EFFECTIVE PAGES
    The following is a list of effective pages. Use this list 
to verify the currency and completeness of your document. An 
"O" indicates a page in the original document. 

 PAGE                  CHANGE     PAGE                   CHANGE 

 i thru xii              O        D-1 thru D-2             O 

 I-1 thru I-26           O        D-A-1 thru D-A-18        O 

 II-1 thru II-16         O        D-B-1 thru D-B-4         O 

 III-1 thru III-28       O        D-C-1 thru D-C-22        O 

 IV-1 thru IV-12         O        E-1 thru E-6             O 

 V-1 thru V-10           O        F-1 thru F-30            O 

 VI-1 thru VI-6          O        G-1 thru G-10            O 

 A-1 thru A-12           O        H-1 thru H-8             O 

 B-1 thru B-42           O        J-1 thru J-4             O 

 C-1 thru C-22           O        GL-1 thru GL-12          O 


RECORD OF CHANGES [None; form omitted]
TABLE OF CONTENTS CHAPTER I INTRODUCTION General RED/BLACK Isolation Traffic Flow Security Security Information for System Planners, Circuit Switch and Point-to-Point Circuits Security Information for System Planners, AN/TYC-39 and Special Data Circuits Security Information for Systems Planners, AN/TSQ-111 CNCE and Transmission Systems Physical Security Emergency Plan Declassification Procedures Interface Planning Checklists Additional Information II KEYS General Key Rekeying Keys V-key (V) Net Keys (X-Keys) Z-Key Reentry Home Key (M, RH, or R) Compartmented Key (S-Key) Trunk Traffic Key (T) Bulk Transfer Key (BT) VINSON Cryptonet Variable (CNV) VINSON Rekey Variable (RKV) Manual Cooperative Variable Transfer (MCVT) (DSVT-to-DSVT) Joint Staff Intertheater COMSEC Package Key Management III CIRCUIT SWITCHING NETWORK COMSEC EQUIPMENT AND PROCEDURES Introduction AN/TTC-39( ) Mobile Subscriber Equipment Unit Level Circuit Switches CBCS Data Base Considerations AN/TTC-42 Data Base Construction Co-Parent and Alt-Parent Procedures for ULCS Keys and Key Management Key Assignments Within the HUS Load TED to TED (Trunking) Tactical-Strategic Interface Protected Distribution Systems and Approved Loops Dial-Up Message Switch Connectivity Point-to-Point Operation (DSVT-to-DSVT) STU-III Operation in Tactical Networks Operation of the Motorola MMT/DNVT Subscriber Terminal in Tactical Switches Use of LKGs in Circuit Switch Calls IV MESSAGE SWITCHING NETWORK COMSEC EQUIPMENT AND PROCEDURES Introduction Joint Staff ICP Pair-Wise Unique Key Tape System KG-83 Certification Assign Keys for the Local Loops Loading KG-82s and KG-84()s Rekeying a KG-84() Loading KG-82 to KG-82 (Trunking) External Interface (AUTODIN) Point-to-Point Operation KG-84A to KG-84A Message Switch Traffic Flow Security Y-Community Traffic AN/TYC-39 Reports Classification V AN/TSQ-111 COMMUNICATIONS NODAL CONTROL ELEMENT AND TRANSMISSION SYSTEM COMSEC EQUIPMENT AND PROCEDURES Introduction General COMSEC Controller Key Management Key Generation and HUS Assignment DOW Point-to-Point Operation (KG-84()-to-KG-84()) Manual Cooperative Variable Transfer (DSVT-to-DSVT) Transmission Systems COMSEC Procedures VI DATA NETWORK SECURITY General Security Policy Considerations for JTF to IP Network Connectivity NIPRNET Policy SIPRNET Policy Application of SIPRNET Policy SIPRNET Access Limitations JWICS Policy [Annexes in preparation] APPENDIX A KIV-7 Embeddable KG-84 COMSEC Module B Detailed COMSEC Procedures C Equipment Descriptions D Joint Staff Intertheater and Intratheater COMSEC Package Letters of Instruction Annex A--Letter of Instruction for Joint Staff Inter- and Intratheater Circuit Switch Network Key System, USKAT-C5572 Annex B--Letter of Instruction for The Use of The Intertheater COMSEC Package Pair-Wise Unique Keying Material Annex C--Draft Letter of Instruction for Joint Staff Inter- and Intratheater Circuit Switch Network Key System, USKAT-C5572 E Future Equipment Descriptions F KG-84() Family Applications G Trunk Encryption Device Applications H Network Encryption System J References and Supplemental Reading Part I-- References Part II-- Supplemental Reading GLOSSARY Part I-- Abbreviations and Acronyms Part II-- Terms and Definitions FIGURE I-1 CJCSM 6231 Manual Series I-2 Generic Joint Task Force Communications Systems III-1 Required Keys for A CBCS Network III-2 Example CBCS Network III-3 Typical Red Switch Connectivity III-4 Possible Red Switch Connectivity III-5 Example Red Switch Interswitch Trunk Connectivity III-6 PDS Call Combinations (1 of 3) III-7 PDS Call Combinations (2 of 3) III-8 PDS Call Combinations (3 of 3) IV-1 Representative Joint Message Switch Network V-1 Data Orderwire to AN/TSQ-111 V-2 Representative Joint Transmission Network A-1 KIV-7 Front Panel A-2 KIV-7 Interconnectivity Diagram B-1 KYX-15 Register Fill F-1 KG-84A Internal Strapping for MRVC Interface to DRSN F-2 KG-84A Front Panel Settings for MRVC Interface to DRSN F-3 KG-84A Internal Strapping for ITSDN Interfaces F-4 KG-84C Settings for Use With AN/MSC-63A F-5 Unbalanced RED I/O and BLACK CD Connections for Wireline Applications F-6 Unbalanced RED/BLACK I/O Cable Configurations for Land Based Applications F-7 KG-84A RED and BLACK Connections for RS-232 F-8 KG-84A BLACK Connections to TRI-TAC (Wireline CD Mode) F-9 KG-84A RED AN/UYK-83, RS-232 Synchronous F-10 KG-84A RED Connection to AN/UGC-129 F-11 KG-84A (RS-422 RED and RS-449 BLACK) Connection to IDNX G-1 IDNX Balanced RS-422 to KG-94A RED H-1 NES Tower Configuration H-2 Typical NES Interconnect Using an 802.3 to 802.3 Interface TABLE I-1 Circuit Switch Planning Checklist I-2 Message Switch Planning Checklist I-3 CNCE/Transmission Planning Checklist II-1 Summary of Key Requirements II-2 Subscriber Rekey Key Terminology II-3 Interswitch Rekey Variables II-4 Subscriber Net Key Terminology II-5 Key Cross Reference List III-1 CBCS COMSEC Complements III-2 TEDs Available Normal-Through, by DTG III-3 Recommended Storage Locations for CBCS Optional Keys III-4 CBCS Storage Locations for Preassigned Keys III-5 AN/TTC-42 HUS Allocations III-6 CBCS Allowable Calls IV-1 LKG and HUS Allocation V-1 AN/TSQ-111 COMSEC Items V-2 DOW Rules V-3 LKG and HUS Allocation V-4 Transmission Equipment COMSEC Complement A-1 KIV-7 RED Interface Pinouts A-2 KIV-7 BLACK Interface Pinouts B-1 VINSON OTAR Procedures C-1 Switch Commands and Functions C-2 Center-Tap Strapping Options C-3 Receive Cipher Text Clock Phase Selection C-4 External Command Strapping C-5 Resync (T) Command Termination Strapping (E-GFW PCB) C-6 Resync (W) Level Logic Strapping (E-GFV PCB) C-7 Resync (W) Timeout Strapping Options C-8 Status Signal Voltage Strapping Options C-9 KY-90 Technical Characteristics D-1 USKAT-C5572 Key System D-2 Key Terminology by Switch Family D-3 New Key Labels and Old Key Labels E-1 Release 0 STE Capabilities E-2 Strapping Options for KG-184A A5 and A7 Boards E-3 Strapping Options for KG-184C A5 and A6 Boards F-1 KG-84A Switch Settings for Use with AN/UGC-74A F-2 KG-84A Switch Settings for Use with AN/UGC-129 F-3 KG-84A Switch Settings for Use with Various Terminals, Diphase Modem Interface F-4 KG-84C Switch Settings for Use with AN/MSC-63A F-5 KG-84C Switch Settings for Use with PC Terminals F-6 KG-84A Switch Settings for ITSDN Interfaces F-7 Simplex Operation, Autophase Enabled F-8 Duplex Independent Operations F-9 Duplex (End Around Sync) Operations F-10 Strap Settings, HF Operation F-11 KG-84A Switch Settings (SUN Workstation (or Other) Using Wireline CD ) F-12 KG-84A Switch Settings (SUN Workstation (or Other) Using Dedicated Modem or Dial-up) F-13 Strapping Options for SUN Workstation Applications F-14 Balanced RED I/O Cable Configuration for Maritime Applications F-15 Balanced BLACK I/O Cable Configuration for Maritime Applications F-16 KG-84() Concealed Controls for DOW Operation F-17 KG-84A Strapped for Balanced DOW Operation F-18 KG-84A Internally Strapped for Unbalanced DOW Operation F-19 KG-84C Strapping Options F-20 KG-84C Strap Settings, Operation with KG-84A F-21 Strapping Options for KG-84A Used with KG-84C, Nonconditioned Baseband, Unbalanced F-22 Strapping Options for KG-84A Used with KG-84C, Nonconditioned Baseband, Unbalanced, KG-84 Mode F-23 KG-84A Switch Settings for Use with KG-82 F-24 KG-84C Switch Settings for Use with KG-82 G-1 KG-94()/-194() Strapping Options for the AN/TRC-170, AN/TTC-39A(V)/D, AN/TYC-39(), AN/TSQ-146, AN/TSQ-111, AN/TTC-42, AN/TTC-46, AN/TTC-47, AN/TTC-48, SB-3865, and GMF Satellite Terminals G-2 TED Strapping Options, MS-CS DTGs G-3 TED Strapping Options for IDNX G-4 KG-194() Strapping Options for Maritime Applications H-1 NES Component Classification and Marking
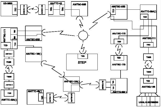
CHAPTER I INTRODUCTION 1. General. This manual provides information about the COMSEC aspects of the joint task force (JTF) backbone network. Information presented in this document should be used in conjunction with information contained in other publications in the CJCSM 6231 series (Figure I-1). The information in this publication primarily pertains to COMSEC equipment most likely to be found in the JTF backbone network. Figure I-2 is a guide for determining where to find this equipment and the connectivity requirements. TRI-TAC developed COMSEC equipment provides secure voice and data traffic with a capability for electronic key generation and distribution under processor control. Alternatively, keys may be distributed using manual procedures. COMSEC for equipment fielded later, like MSE, uses the same principles and is completely interoperable with TRI-TAC equipment. Operators and maintenance personnel associated with the COMSEC equipment and keys described in this publication must have a security clearance and need to know commensurate with the level of classification of the equipment or keys involved. a. When the TRI-TAC COMSEC equipment was designed, the term "variable" was used instead of the term "key." However,"variable" was phased out and replaced by "key." The term "variable" is embedded into the design of the TRI-TAC equipment and is still used in conjunction with specific commands associated with COMSEC functions. Throughout this document, both terms are used and are interchangeable. Equipment developed later (for example, MSE and the AN/TTC-39D) use the term "key" primarily but may use "variable" in certain applications. Where applicable, tables of equivalents are shown. b. COMSEC doctrine for TRI-TAC equipment use is outlined in KAO-193A/TSEC, SAM-70, and NTISSAM COMSEC/1-87. Similar MSE procedures are described in the MSE Key Management Plan. Definitions of many of the terms found in this document are contained in NSTISSI 4009. Definitions presented in Part II of the Glossary are either not found in NSTISSI 4009 or are expanded and tailored to the applications found herein. _____________________________________________________________ Figure I-1 CJCSM 6231 Manual Series _____________________________________________________________ Figure I-2 Generic Joint Task Force Communications Systems _____________________________________________________________ 2. RED/BLACK Isolation. Personnel planning for and setting up secure communications facilities must be aware of the requirement for requisite RED/BLACK isolation. (In this manual, the terms RED and BLACK (all capital letters) refer to the TEMPEST connotation. Other implications of the words red and black may appear.) The RED/BLACK concept pertains to the separation of electrical and electronic circuits, components, equipment, and systems that handle classified plain text (RED) information in electrical signal form from those that handle unclassified (BLACK) information in the same form. The RED designation is applied to telecom- munications and automated information systems, plus associated areas, circuits, components, and equipment that, when classified plain text signals are being processed, require protection during electrical transmission. Conversely, the BLACK designation applies to telecom- munications and automated information systems and to associated areas, circuits, components, and equipment that process only unclassified signals. (COMSEC-encrypted data are unclassified.) RED signals are any telecommunications or automated information system signals that would divulge classified information if recovered and analyzed. RED signals may be plain text, key, subkey, initial fill, control, or traffic flow related information. A BLACK signal is any signal (including control or enciphered signals) that would not divulge national security information if recovered and analyzed. Refer to NSTISSI 7000 and "National Security Telecommunications and Information System Security TEMPEST/2-95" for RED/BLACK requirements. TEMPEST guidelines for KG-84() installation are found in Appendix F. 3. Traffic Flow Security. In addition to proper security for classified communications, traffic flow security is required also. Traffic security is the specific encryption of traffic to protect the classified information contained therein, while traffic flow security is protection that conceals the presence of valid messages on communications circuits, whether those messages are encrypted or not. Traffic flow security is normally achieved by making the circuit appear busy at all times. In tactical networks, KG-94()/194() trunk encryption devices (TEDs) are used for this purpose. This is the main purpose of TEDs, though they are also used as primary traffic encryptor in a variety of applications including MSE SP DNVTs. KG-82s and KG-84-based COMSEC equipment can perform full-period encryption and provide traffic flow security for individual circuits; however, all digital transmission groups (DTGs) in the JTF network will also be secured by TEDs. (KG-84-based equipment refers to the KG-84A, KG-84C, KIV-7, and KIV-7 HS.) TEDs are part of the equipment suite of all tactical switching facilities. Transmission facilities also have TEDs, as indicated in Table V-4. 4. Security Information for System Planners, Circuit Switch and Point-to-Point Circuits. This paragraph helps system planners in developing security requirements for circuit switches. Common baseline circuit switches (CBCSs) assign COMSEC ID locations for all required keys automatically; only optional keys require assignment by the operator. Switches that have not been modified for CBCSs require all keys to be assigned. Additionally, key usage for some keys is different in unmodified AN/TTC-39As than in CBCSs. The procedures below can be used to formulate the requirements for the JTF secure voice switching network. Differences between CBCSs and non-CBCSs are noted when applicable. Chapter II explains key designations and use. The procedures outlined below are normally done in conjunction with the development of a circuit switch database. See CJCSM 6231.02A. a. Traffic Security. Determine the highest classi- fication of voice traffic to be processed by the circuit switch (CS). (This classification is normally SECRET.) b. Certification. Check the KG-83 or KGX-93/93A certification. Security guidance requires that these devices be certified at random intervals not to exceed 1 year, when moved to a higher classification application, after maintenance, or when administratively decertified for storage. They are classified CONFIDENTIAL when not certified. When certified, this equipment will be treated as TOP SECRET until placed in operation. Once installed, they will assume a classification level equal to the highest classification level of the keys to be generated. Detailed test procedures for certifying the KG-83 with the KT-83 and performing KG-83 self-test are contained in the SAM-70 Maintenance Manual. c. Digital Subscriber Voice Terminals (DSVTs). Identify subscribers who need secure voice including those who have a need for S-key operation and classmark the DSVTs for these subscribers. (See CJCSM 6231.02A.) This is done automatically in CBCSs. U-net keys 24 and 25 (stored in hardened unique store (HUS) locations 26 and 27) support TS/SCI CBCS subscribers that communicate with the AN/TYC-39A. S-keys are pre-positioned on tape. CBCSs permit digital nonsecure voice terminal (DNVT) subscribers, in certain circumstances, to communicate in a secure mode. See subparagraph 4q. d. Telephone Numbers. Assign directory numbers to subscribers assigned DSVTs, if they are not already assigned on an affiliation list or preaffiliation list. AN/TTC-39A(V)1s and AN/TTC-42s require a directory number entry in conjunction with a COMSEC ID. e. Assign Variable Locations. In non-CBCSs, assign a COMSEC ID to a directory number of the rekeying key. Assign a COMSEC ID for the common X-net key to the directory number. Repeat this for all secure voice subscribers. Location 0000 is reserved for the switch operation and cannot be assigned for subscribers or an interswitch rekeying key. CBCSs automatically assign subscriber COMSEC IDs automatically. See Chapter III for details on key assignments. The system planners should have assign variable location (AVL) worksheets to depict the information to appear on the screen display. These are contained in CJCSM 6231.02A. f. Assign Reentry Home (RH) Key. The M key is unique to one area code and is assigned automatically in CBCSs. The RH is used in unmodified AN/TTC-39As and must be assigned on the AVL screen. The R key for the AN/TTC-42 is unique per switch and is generated locally. g. Assign Common Interswitch Rekey Key (CIRK). The CIRK is a common key held by all switches in the same area code of a joint network and is used to encrypt per-call keys (V) between switches. The CIRK is usually held on paper tape and must be pre-positioned by the controlling authority at each switch location. The KOI-18 tape reader can be the fill device for this application. As an option, hard-copy key may be loaded from a KOI-18 into a KYK-13, KYX-15, or AN/CYZ-10, then loaded into the remote switches. (For some applications, this key is bulk transferred or locally generated and not held on paper tape.) COMSEC ID locations for the interswitch keys are discussed in later chapters; the CIRV is assigned to location 0001. For proper operation, the CIRV must be assigned in the database and the hardware (Automatic Key Distribution Center (AKDC)) of non- CBCSs (CBCSs do this automatically). This rule must be followed even for a stand-alone switch that has no requirement for interswitch key transfer. h. Assign Interswitch Rekeying Variables. The unique interswitch rekey variable (UIRV) is held on a switch-pair basis and used only in AN/TTC-42s (called a UISRV). It is used to transfer a variety of keys between switches. The area interswitch rekey key (AIRK) is a common key for a given pair of area codes. It will be held by the gateway switches connecting that pair of area codes. If deployments call for more than one area code, the AIRK must be assigned and used to encrypt and decrypt per-call keys (V) transferred between area codes. In CBCSs, the AIRK is an optional key and must be assigned on the AVL screen. Chapter III discusses COMSEC ID locations for the interswitch keys; the AIRK assignments (based on the number of area codes) will start at location 0130. i. Local Loops. Identify the number of DSVTs considered as local loops. A local loop is distinguished from a long loop primarily by how the DSVT is initially keyed--electronic or hard copy. These DSVTs can be serviced with the U and M keys generated at the CS. The fill device required to load the DSVT at these locations is either the AN/CYZ-10, KYK-13, or KYX-15. j. Long Loops. Identify the number of DSVTs considered as long loops. Long loops are for terminals that are too far from the servicing CS to permit timely transfer in a fill device. These DSVTs must be initially serviced with X and U keys generated from hard-copy key material. This key may be held on paper tape. The KOI-18 can be used to fill the DSVT directly or to load another fill device, which can then be used to load the DSVT. k. Trunking. Determine the digital trunk groups needed for the circuit switched network. The T-key is a two- holder, point-to-point key used to initialize the TEDs. It is common to all TEDs in a trunk group. This key may be held on paper tape, and the KOI-18 tape reader can be used to load the TED directly or to load an AN/CYZ-10, KYK-13, or KYX-15, which will then be used to load the TED. CBCSs use a cold-start T-key (T i ) to initiate connectivity and permit bulk transfer of operational T-key. l. Tactical-Strategic Interface. The tactical- strategic interface (to the Defense Red Switch Network (DRSN))could either be a DSVT or equivalent at the strategic end functioning as a long loop off the AN/TTC-39() or interswitch trunks (ISTs) secured by KG-84()s. The type of interface used is dependent upon the equipment available at each end. In either case, hard-copy key material must be pre-positioned at the strategic end. The keys required for this application are the applicable U- and X- or M-keys. m. Fill Devices. After the DSVT requirements have been established, the system planner can allocate the fill devices to support the mission. A general rule is one fill device for each long loop and one fill device for every five local subscribers. A KOI-18 tape reader is required at each location where hard-copy key is positioned. A KYX-15 net control device (NCD) or AN/CYZ-10 data transfer device (DTD) is required for electronic transfer of key between switches. One KYK-13 must be allocated to each DSVT that has S-key requirements. One KYK-13 is usually allocated to each mobile subscriber radiotelephone terminal (MSRT). The AN/CYZ-10 DTD is replacing the other fill devices as it is fielded. It has a higher storage capacity and may replace one or more devices, depending upon the application. The Joint Key Management System (JKMS), under development, will facilitate distribution of keys to the DTD. n. S-Key. Identify secure voice users who have a need for S-key operation. The S-key is part and parcel of the AN/TTC-39()'s complement of keys with actual use at the subscribers' DSVT. It is not used by the CS. S-key subscribers use hard-copy key material or an electronically generated key normally generated by the AN/TYC-39 MS. If using electronic keys, the fill device can be the KYK-13 or AN/CYZ-10. If using hard copy, the KOI-18 tape reader is required. The KOI-18 is normally used to load the KYK-13 associated with the DSVT. If the KYK-13 is used, it may be left attached to the DSVT. o. Security Classmark. When the circuit switch is initialized, entries must be made to the database for each secure subscriber. CBCSs do this automatically from preaffiliation lists (PALs). Other switches must be programmed. In the JTF backbone network, all DSVT loops should be classmarked at least SECURITY PREFERRED. p. Point-to-Point Circuits. Identify all secure point-to-point voice circuits (DSVT-to-DSVT) and the duration of the mission. The mission duration will determine the number of keys, fill devices, and if rekeying is needed. This is a non-TRI-TAC application and requires only an X-key (different from the network X-key). q. Approved Loops. Approved loops are also called protected distribution systems (PDSs), defined in NSTISSI 7003. CBCSs may be classmarked PDS Y or N. In switches marked PDS=Y, DNVTs may be classmarked SECURITY PREFERRED and handle secure calls. In the AN/TTC-39A(V)1, analog or digital approved loops must be classmarked SECURITY REQUIRED. The AN/TTC-42 and SB-3865 do not use approved loops. However, calls from the AN/TTC-42 to or from approved loops will be completed in the secure mode. 5. Security Information for System Planners, AN/TYC-39 and Special Data Circuits. This paragraph provides information on the AN/TYC-39 MS, subscriber terminals, AUTODIN access lines, and trunks to formulate the security requirements for a message switching network. Use the procedures below to formulate these security requirements. a. Traffic Security. Determine the highest classification and category of traffic to be processed by the AN/TYC-39 MS. This is normally TOP SECRET for R-community switches and may include sensitive compartmented information (SCI) for Y-community switches. (See CJCSM 6231.07A.) Waivers exist to permit some types of dial-up service through CBCSs. b. Certification. Check the KG-83s certification. See subparagraph 4b. c. Subscriber Terminals. Identify the number of subscriber terminals, including the Y terminals and mode of operation for each. See the discussion in CJCSM 6231.03A on terminal requirements. Assign HUS locations for each terminal. These locations will store the rekeying U- and X-traffic keys. d. Trunks. Determine the number of trunks needed to support the message switching network, and assign HUS locations for each trunk circuit. Again, these locations will store the rekeying U- and X-traffic keys for each trunk circuit. Keying material must be pre-positioned at both ends of the trunks, and equipment at these locations will be initialized using keys from the Joint Staff Intertheater COMSEC Package (JSICP) (See Appendix D). e. AUTODIN. Determine the number of AUTODIN access lines needed for the mission. Assign HUS locations for the rekeying U- and X-traffic variables for each AUTODIN access line. Keying material will be pre-positioned at designated AUTODIN switches. The KG-84()s at these locations will be initialized using JSICP keys. f. Local Terminals. Identify the number of local terminals. A local terminal is distinguished from a remote terminal primarily by how the terminal is initially keyed-- electronic or hard copy. A local terminal can be initially keyed with electronic keys generated at the AN/TYC-39. Electronic keys for these terminals consist of the rekeying key U and the X-traffic key. Keying devices required for loading the KG-84 for local loops can be either the KYK-13, the KYX-15, or the DTD. The system planner determines whether a loop is a local or long loop by taking into account the amount of time required for a courier to transport the electronic key to the terminal. This is determined by such factors as distance and terrain. Use of electronic keys has the advantage of reducing the requirements for hard-copy key. g. Remote Terminals. Identify the number of remote terminals. A remote terminal cannot be reached quickly by a courier; therefore, it must be initially keyed using hard copy U- and X-keys. The keying device used to load the KG-84() at the terminal locations can be the KOI-18. As an option, hard-copy key may be loaded from a KOI-18 into a KYK-13, DTD, or KYX-15, then loaded into the remote terminal equipment. The same hard-copy keys in paper tape form must be pre-positioned at the AN/TYC-39 and the terminal location. When no other prior arrangements have been made, the servicing message switch has the ultimate responsibility to ensure that remote subscribers have the proper key. h. MASTER Switch-Crypto Net Control Station. Designate a MASTER-crypto net control station (CNCS) switch for the message switching network for controlling the distribution of keying material. The system planners at the MASTER-CNCS switch (JTF) location are responsible for the allocation of hard-copy key material at other switches directly trunked to the MASTER-CNCS switch. The MASTER-CNCS switch is responsible for rekeying the COMSEC equipment supporting these trunk circuits. The CNCS performs these functions for the AUTODIN access lines. i. Local Loop Keys. For each circuit identified as a local loop, a unique rekeying U-key and an X-traffic key must be generated and sent to these locations by courier. j. Long Loop Variables. Each long loop circuit, including subscriber terminals, AUTODIN access lines, and trunk circuits, requires a unique U-key and a common X-sync key pre-positioned at each location. Hard-copy key material is required for long loops, and the keying device can be the KOI-18 tape reader. As an option, hard-copy key may be loaded from a KOI-18 into a KYK-13, KYX-15, or DTD, then loaded into the remote terminal. k. Fill Devices. After subscriber terminal, AUTODIN access line, and trunk circuit requirements have been established, the system planner should allocate the fill devices needed to support the mission. The general rule is one fill device for each long loop, and one fill device for every five local subscribers. A KOI-18 tape reader is required at each location where hard-copy key is positioned. Key will not be stored in the KYK-13, KYX-15, or DTD for more than 12 hours when that same key is stored in the HGX-83 AKDC in the AN/TYC-39A. l. Special Data Circuits. Identify the special point-to-point (non-TRI-TAC) data circuits (KG-84() to KG-84()). When the KG-84() is operated point-to-point with another KG-84() on a full period circuit, the X-traffic key can be extended to a 1-month cryptoperiod with daily updates. When the X-key is used for the 1 month (or longer) cryptoperiod, with daily updates, an update to update count 01 must be performed immediately after loading the key. A U-key is not required when using the update function. Thus, for point-to-point operation only the X-traffic key is used with the KG-84()s. Depending on the mission requirement, the X-traffic key can be generated by the AN/TYC-39A or taken from hard-copy key material. In either case, identify the number of point-to-point circuits to formulate requirements for keys and keying devices. 6. Security Information for Systems Planners, AN/TSQ-111 CNCE and Transmission Systems a. Traffic Security. Determine the highest classi- fication of traffic that will use keys generated at the CNCE. Data orderwires (DOWs) provide the CNCE with status information gathered at each transmission assemblage or multiplexer shelter. The DOWs are secured with KG-84()s or KG-84()/KG-82 combinations. When the status information is decrypted at the CNCE, this information is not classified. Thus, status information can be treated as sensitive and protected as CONFIDENTIAL. If approved loops are not implemented, all traffic within the CNCE will be BLACK. Therefore, traffic that is to be bulk encrypted by TEDs can also be protected at the CONFIDENTIAL level. However, other security requirements may necessitate a higher classi- fication of keys than CONFIDENTIAL. (JSICP T-keys are SECRET.) It is recommended that for all deployments, the KG-83 assume the classification level of SECRET. b. Certification. Check the KG-83 certification. See subparagraph 4b. c. Collocated DOWs (KG-82/KG-84()). Identify the collocated DOWs. These DOWs are within transmission assemblages that are collocated with the CNCE and are secured with the KG-82(LKG)/KG-84() combinations. Assign a HUS location and LKG to each collocated DOW. These collocated DOWs require two keys per assemblage, which are the key encryption key (KEK "U") and the traffic encryption key (TEK "X"). The keys for these configurations reside in the HUS location assigned to that particular assemblage. Each collocated DOW assemblage must operate on its unique keys as assigned within the HUS. d. DOWs Operating Point-to-Point (KG-84() to KG-84()). Identify the DOWs that operate point-to-point (KG-84() to KG-84()) (see Figure V-1). These orderwires may be keyed with pre-positioned hard-copy key or electronically generated key depending on the distance and ownership. The DOWs only require a traffic encryption key (TEK). e. Fill Devices. After the DOW requirements have been established, the system planner should allocate fill devices needed to support the mission. For collocated DOWs one KY-13 fill device (six addressable storage registers) is needed for every three collocated DOWs. A KYX-15 may replace one or more KYK-13s. DOWs operating point-to-point (KG-84() to KG-84()) will require the KOI-18 tape reader at each KG-84 location or the KYK-13 fill device if using electronically generated key. DTDs may replace the KYK-13 and KYX-15 as they become available. f. Traffic Flow Security. Each DTG terminating on an AN/TTC-39 series CS or multiplex facilities should be secured using a TED. Digital group multiplex (DGM) equip-ment configurations that use the TED are discussed in CJCSM 6231.04. Further, for analog groups, selected transmission equipment, such as the AN/TSC-85B or -93B GMF satellite terminals and the AN/GRC-201 tropo terminal use K-94()s-194()s to provide bulk encryption. The system planner should always ensure that each major DTG or analog group is provided traffic flow security by a KG-94()/-194() (see CJCSM 6231.04), as appropriate. This does not imply that RED and BLACK information should be mixed in the same group (although this is allowed in an MSE PDS). Encryption for traffic security should be provided before the information is multiplexed into a group. Avoid the use of multiple TEDs on single transmission links where operationally feasible. This recommendation is based on the need to maintain simplicity in system keying, initialization, and reinitialization procedures. If the transmission equipment is collocated with the CNCE, bulk encrypt within the transmission equipment. However if the transmission equipment is remoted from the CNCE to a radio park, by using a short-range radio system, then bulk encrypt at the CNCE. These guidelines may be modified to account for the availability of TEDs within various equipment suites. g. Approved Loops and Trunks. When implementing approved loops connect directly to the circuit switch via a PDS. If the interswitch trunks are classmarked AS (Terminal Type 28) or the extraswitch trunks are classmarked AS and are connected to the CNCE, operate as a RED CNCE. However, if the inter-switch trunks are the digital nonsecure (DN) (Terminal Type 29), then all traffic within the CNCE would be BLACK. The AN/TTC-42 does not use analog secure trunks. 7. Physical Security. Physical security for the COMSEC components of the JTF network will be in accordance with Service procedures and the guidance contained in subparagraphs a through g. a. Access Controls (1) Each person assigned to shelters containing AN/TTC-39(), -42, -46, -47, -50, and/or AN/TYC-39 COMSEC equipment and DTDs must have, as a minimum, a SECRET clearance. TOP SECRET clearances are required if operation personnel have access to TOP SECRET cryptoequipment, cryptomaterial, electronic keys, or TOP SECRET plain text. (2) Personnel with less than SECRET clearances, whose duties require occasional access to the shelter (for noncryptographic maintenance, repair, or housekeeping) will be permitted entry only when continuously escorted by a regularly assigned, appropriately cleared individual. (3) Uncleared users may use the handset or headset of the KY-68 or approved loops in the presence and under the supervision of appropriately cleared personnel (US or other national or international organizations to which the equipment has been released (see CJCSI 6510.01)) provided the distant party has been alerted to the participation of an uncleared user. (4) Military or civilian guards and security patrols who provide area protection for the shelters do not need be cleared but will not be authorized entrance. In the event of an emergency, uncleared personnel including guards, fire, police, or rescue personnel will be granted immediate entrance to deal with the emergency (fire, flooding, terrorist acts, etc.). Upon resolution of the emergency, reporting actions IAW appropriate Service directives will be completed. b. Personnel Protection. The CS and/or MS shelters that contain operating HGF-85 or -87, HGF-83, or HGF-93 or -96, will normally be occupied by two cleared individuals. Brief absences of one individual are permitted as authorized by the local authority. The two-person rule does not apply to the AN/TTC-42 when the restricted command locking bar is in place. When TOP SECRET material is involved, the requirement for two-person integrity (TPI) will be considered. TPI is a handling and storing system designed to prevent single-person access to certain COMSEC material. TPI handling requires that at least two persons, authorized access to COMSEC keying material, be in constant view of each other and the COMSEC material that requires TPI whenever that material is accessed and handled. Each individual must be capable of detecting incorrect or unauthorized security procedures with respect to the task being performed. All DOD personnel are required to adhere to TPI handling and storage for TOP SECRET key, except in tactical situations (see NSTISSI 4005, paragraph 42c). TPI is no longer automatically required for TS key in tactical situations; however, the controlling authority for the equipment and circuits must make the final determination. Use of TPI is recommended whenever possible, especially in SCI applications. c. Shelter Locking Device. The access door shall be secured with a three-combination changeable padlock, NSN 5240-00-285-6523 or equivalent, during periods of nonoperation. To facilitate rapid reentry, the access door may be secured with a good quality key-operated padlock when operating personnel are absent for short periods of time. When individual Service procedures do not authorize the use of a three-position, dial type, changeable combination padlock to secure such shelters, padlocks Service-specified will be used. A key control system is then required. d. Restricted Areas (1) The operational CS or MS shelter will be located in a restricted area. Access to a restricted area is subject to special restrictions or controls for security or to safeguard property or material. The following combinations of security control should be considered in setting the appropriate protection level: fences, concertina wire, alarms, guards in the vicinity or acting as perimeter security, identification and security check procedures, entry control points, and escort procedures for maintenance, repair, or housekeeping personnel. Examples of appropriate combinations are: fences and alarms, fences and guards, or fences and identification and security check procedures. (2) Each shelter will be operated as a limited access area, consistent with the following: (a) Access Restriction. Only personnel who are required to be present to perform assigned duties will be authorized access to the shelter. 1. The name of each authorized person must appear on the access list maintained within the shelter. 2. An official having cognizance over the shelter must approve the composition of the access list, including the addition of each new name. 3. Persons not named on the access list who require access in the performance of their duties, such as custodial and maintenance personnel, may be authorized access only if they are under continuous escort by an individual whose name appears on the access list. (b) Visitors Register. The register should show the date of visit, the name and signature of the visitor, the visitor's title or rank and organizational affiliation, the purpose of the visit, the name of the authorizing officer, and the time in and out. A visitors register may not be required by Service regulations. e. Storage. The rules listed below apply generally. Additional rules apply specifically to the storage requirements and subsequent use of KG-83 and KGX-93/93A key variable generators (KVGs). These rules are summarized in subparagraph 7e(3). The rules are presented in more detail in NAG-16D. (1) Operational Site (a) At an operational site, the unmanned shelter constitutes an authorized storage facility for keyed or unkeyed classified COMSEC equipment when the following conditions have been met: 1. The shelter is secured according to subparagraph 7c. 2. The shelter is located in a restricted area as specified in subparagraph 7d. (b) If the shelter has a security container (not mandatory), fill devices including the DTD, hard-copy keying material, and classified documents may be secured therein. (c) If the provisions of subparagraph 7e(1) cannot be met, all COMSEC equipment will be zeroized, the common fill devices (DTD) will either be zeroized or removed and stored at an approved alternate site, and all hard-copy keying material and all classified documents will be removed and stored at an approved alternate site. (2) Nonoperational Site (a) At a nonoperational site, the shelter constitutes an authorized storage facility for classified COMSEC equipment contained therein when the following conditions have been met: 1. The shelter is secured according to subparagraph 7c. 2. The shelter is physically controlled as specified in subparagraph 7d. 3. All COMSEC equipment and devices stored therein have been zeroized. 4. The KG-83 (or the KGX-93/93A, where found) has been placed in a GSA-approved security container. As an exception, the KG-83 may remain in the shelter but the rules listed in subparagraph 7e(3) must be observed. (b) When the shelter cannot be located within a restricted area, the commander must institute safeguards that will preclude any reasonable chance of tampering, unauthorized access, sabotage, or theft of the shelter and its contents. Such measures should include periodic checks by security guards or patrols and a sight inventory of the contents of the shelter at least once each month. (c) Storage of keys in the shelter is not authorized at a site where communications operations are not being performed (like a warehouse or a depot). All keys must be removed from the shelter and all COMSEC equipment and devices must be zeroized. Classified documents may not be stored in the shelter at such a site. (d) Whenever a shelter is not secured or physically controlled as described in subparagraphs 7c and 7d, the tamper detect labels on KG-83s and KGX-93/93As must be checked to ensure that there was no tampering before using the equipment. If there is an indication of tampering, the equipment must be replaced immediately and a COMSEC incident reported. Rules governing the use of tamper detect labels are contained in NAG-16D. (3) KVG Storage. KG-83 and KGX-93/93A KVGs may be stored in unmanned TRI-TAC and MSE shelters, if the following conditions are met: (a) Physical Safeguards. Safeguards described in subparagraph 7e(2)(b) must be applied. (b) Certification. Each KVG must have been certified within 12 months, to the level of traffic for which it must generate keys, by persons who are properly cleared and technically qualified using a certified KT-83 and NSA-approved procedures. (c) Tamper Detection Labels. At the time of the last certification, NSA-furnished tamper detection labels were applied to each KG-83 and KGX-93/93A IAW NSA instructions. (d) Locking Bars. Each KVG must be secured in its mounting by means of a hinged locking bar on a TPI basis by two combination locks. (e) Inspections. All tamper detection labels must be visually inspected by partially withdrawing the KVG from its mount immediately before each KG-83 or KGX-93/93A activation. f. Transportation. Keying material and classified COMSEC equipment need not be removed before transporting the shelter. During movement, the facility must be locked and escorted; escorts need not be armed but must be cleared for the classification of the COMSEC material contained in the shelter. The KG-83 or KGX-93/93A may be certified, and the rules listed in subparagraph 7e(3) must be complied with before the KVG can be used. Transportation of accountable COMSEC material exclusive of the shelter will be IAW guidance contained in appropriate Service regulations. g. Reportable COMSEC Incidents. Any occurrence that subjects any classified COMSEC material or equipment to possible compromise must be reported immediately IAW NSTISSI 4003 or appropriate Service, department, or agency directives or regulations. Any suspicious or unusual occurrence should be reported immediately. While these conditions may or may not be compromising, they must be reported for subsequent evaluation. COMSEC incidents are reportable IAW NSTISSI 4003 and applicable Service, Department, or agency directives or instructions. 8. Emergency Plan. In the event of threatened or imminent overrun or capture, COMSEC keys, material, and equipment in jeopardy of compromise will be collected and destroyed in accordance with the following guidance as directed by local commanders or their designated representatives. Periodic emergency action exercises should be conducted to reinforce the actions specified in this paragraph. a. Each switch shelter and subscriber location will contain an up-to-date listing reflecting all COMSEC and other classified materials. b. Destruction priority is as follows: (1) Superseded and currently effective keying material and equipment marked CRYPTO. This includes zeroizing all module equipment, COMSEC databases, and fill devices in use. All keying material and equipment marked CRYPTO must be destroyed before any nonoperational test key. (2) TOP SECRET multiholder keying material to be used within the next 30 days. (3) SECRET and CONFIDENTIAL multiholder keying material to be used within the next 30 days. (4) COMSEC maintenance manuals, operating instructions, and general publications, or at least the pages containing sensitive information. (5) Classified printed circuit boards (PCBs) in all module equipment. (6) Any remaining classified COMSEC material, including history tapes, future keying material not included in items (2) and (3), and all COMSEC equipment and devices. c. Materials described above will be destroyed in accordance with approved methods. Appropriate facilities like a burning pit with fuel, if required, will be put in place during shelter setup. d. One person per shelter per operating shift will be delegated the responsibility for zeroizing all keyed equipment and devices contained in that shelter. These individuals will be charged with the destruction of any superseded or unused hard-copy keying materials and COMSEC aids contained in the shelter. e. One individual per shelter per operating shift will be delegated the responsibility for moving all history tapes to the fire pit for destruction and witnessing the total destruction of the material. f. One person per shelter per operating shift will be delegated the responsibility for physically destroying all COMSEC equipment and devices contained in the shelter. Physical destruction is herein defined as damaging the equipment and devices to the point they are unusable. Use any physical means available. For example, remove equipment and smash or crush it with a sledge hammer or chop it with fire ax. g. Check off on the shelter COMSEC inventory listing each item to be destroyed or zeroized to ensure nothing is overlooked. The evacuating party should carry the inventory listing. h. Make all attempts to assess the extent of material compromised by an overrun. Use methods such as review of documents, physical observation, or interviews of survivors. Local commanders or their designated representatives will submit required reports to the proper authorities. i. The emergency plan will be posted in each shelter, and all personnel will be familiar with its contents. The duty position of personnel specifically delegated destruction responsibilities will be listed on the emergency plan. 9. Declassification Procedures. Safeguarding classified information in a computer or computer system requires special precautions because of the type of storage media and devices (magnetic drums, disks, disk packs, and tapes) used to store, record, or manipulate data that must be protected by appropriate classification and security controls until the declassification procedures below are carried out. The eventual temporary or outright release of the storage device or a system including storage media should be anticipated. Procedures to release or deploy the storage media outside the controlled environment are below. Destruction may be used when the media is no longer needed or the risks associated with declassification are unacceptable. See NSA/CSS Manual 130-1, Annex D, for further guidance. a. Magnetic Tapes. Tapes used to store magnetically recorded digital data may be declassified by erasing with bulk tape degaussers. These degaussers must be tested and approved by a DOD component or a commercial testing laboratory. Such tests may be certified by adhering to test methods and performance criteria outlined in NSA/CSS Specification L1-MTC-4A, "Magnetic Tape Degausser." DOD components may, where necessary, develop procurement specifications for their use, provided test methods and performance criteria comply, as a minimum, to the NSA/CSS specification outlined above. The degausser must be listed in the NSA Information Systems Security (ISS) Products and Services Catalog as meeting minimum requirements for degaussing the media. b. Magnetic Disks, Disk Packs, Drums, and Other Similar Rigid Magnetic Storage Devices. The equipment will be checked immediately before beginning the overwrite procedure to ensure that malfunctions do not occur that will prevent the classified information from being effectively over-written. Thereafter, all storage locations will be over-written a minimum of three times, once with the binary digit "1," once with the binary digit "0," and once with a random numeric, alphabetic, or special character. The overwrite must be verified by testing of at least 10 percent of the overwrite. Such alphanumeric or other unclassified data will be left on the device. The electrical current used in overwriting must be equal to that used in recording the information but of a strength that will not damage or impair the equipment. Only use evaluated and approved overwrite programs. The risks associated with software overwrite procedures may be unacceptable considering data sensitivity, ultimate disposition of the media, and possible inherent weakness of the procedures. Software overwriting is not authorized for declassification of COMSEC keying material marked CRYPTO. c. Inoperative Magnetic Disks, Disk Packs, Drums, and Similar Rigid Storage Devices. The storage device may be declassified by exposing the recording surface(s) to a permanent magnet. The magnet should be listed in the NSA ISS Products and Services Catalog as meeting minimum requirements for degaussing the media. d. Internal Memory. Volatile memory can usually be declassified by removing all power, including battery and capacitor power supplies. 10. Interface Planning Checklists. The planning information in this chapter has been summarized in three checklists--Tables I-1, I-2, and I-3. These checklists are not meant to be all-inclusive and should be modified for local use. These checklists should be used in conjunction with equipment worksheets found in CJCSMs 6231.02A and 6231.03A. In some cases, applicable worksheets are identified on the checklists. Be sure to classify completed checklists at the appropriate level if classified information is entered in the remarks. 11. Additional Information. Information contained in this manual may change after publication but before the next revision. Several organizations maintain home pages that contain the most current information and additional related information. Information pertaining to switch software and related procedures is maintained by EA-TSS at the following addresses: http://EATSS1.SED.MONMOUTH.ARMY.MIL and http://EATSS.CECOM1.ARMY.SMIL.MIL The software engineering directorate home page is found at: http://WWW.SED.MONMOUTH.ARMY.MIL Information about test results, lessons learned, and other information about tactical circuit switch testing is maintained by the Joint Interoperability Test Command at: http://JITC-EMH.ARMY.MIL and http://207.132.160.252/HONOR/JITC.HTM or http://199.208.204.125/JITC.HTM The Joint Communications Support Element maintains current information relevant to its operations at: http://WWW.JCSE.MACDILL.AF.MIL The Air Force "Index of Deployable C4I" is found at: http://www.afca.scott.af.mil/seminars/xpxrman/indexp.htm The Army Signal Command home page is located at: http://138.27.190.13/ASC_MAIN.HTML Network management information may be found at: http://www.gordon.army.mil/tsmnm _____________________________________________________________ Table I-1. Circuit Switch Planning Checklist 1/, 2/ Task Yes No Remarks _____________________________________________________________ Switch _______/Location _______ KG-83s or KGX-93/93A Certified _____________________________________________________________ DSVTs (all) Requirements Identified Local/Long Loops Flagged Keys, Fill Devices Allocated Classmarks Assigned (AAL, APL, ATS 3/) Directory Numbers Assigned (ATS 3/) COMSEC IDs Assigned (AVL 3/) RH Key Assigned (AVL 3/) S-Key Users Identified Key Material Allocated Fill Devices Allocated _____________________________________________________________ Trunks (all) Keys Identified, Positioned CIRV Assigned (AVL 3/) Other IRVs Assigned (AVL) TEDS Required/Assigned (ADT) Keys Allocated _____________________________________________________________ Strategic Interface Type (Long Loop or IST) Keys Identified, Positioned _____________________________________________________________ Message Switch Trunks (all) Keys Assigned (AVL) TED Assigned (ADT) _____________________________________________________________ STU-IIIs Users Identified Connectivity Established _____________________________________________________________ Point-to-Point Circuits Keys, Fill Devices Assigned __________ 1/ To be completed for each switch. 2/ Applicable AN/TTC-39( ) worksheets in parentheses. 3/ Apply only to AN/TTC-39A(V)1s and AN/TTC-39A(V)4s that have not been converted to CBCSs. See Chapter III and CJCSM 6231.02A. _____________________________________________________________ _____________________________________________________________ Table I-2. Message Switch Planning Checklist 1/ Task Yes No Remarks _____________________________________________________________ Switch _______/Location _______ MASTER/CNCS? _____________________________________________________________ Traffic Security Level _____________________________________________________________ KG-83s Certified _____________________________________________________________ Subscriber Terminals (all) Identified HUS Locations Assigned _____________________________________________________________ Trunks Number required at this switch Distant End(s) Identified Key Material Identified, Positioned HUS Locations Assigned _____________________________________________________________ AUTODIN Access Lines Number Required Key Material Identified HUS Locations Assigned _____________________________________________________________ Local Loops (all) Keys Identified, Generated Fill Device Identified _____________________________________________________________ Long Loops (all) Key Material Identified, Positioned Fill Device Identified _____________________________________________________________ Special Data Circuits, This Location Keys Identified Fill Device Assigned _____________________________________________________________ 1/ To be completed for each switch or location. _____________________________________________________________ _____________________________________________________________ Table I-3. CNCE/Transmission Planning Checklist 1/ Task Yes No Remarks _____________________________________________________________ CNCE _______/Location _______ Traffic Security Level? CNCE RED or BLACK? _____________________________________________________________ KG-83s Certified _____________________________________________________________ Collocated DOWs (all) Identified HUS Locations Assigned _____________________________________________________________ DOWs Point-to-Point (all) Key Material Identified, Positioned Fill Devices Assigned _____________________________________________________________ Traffic Flow Security Groups Requiring TEDs Identified TEDs Assigned Keys Identified, Distributed _____________________________________________________________ 1/ To be completed for each CNCE or transmission node.
CHAPTER II KEYS 1. General. This chapter provides general information about the keys likely to be employed in the JTF backbone network or by component forces. It also contains some information about key management and accountability. It is intended to be used in conjunction with information in other chapters and the Joint Staff inter- and intratheater COMSEC package (JSICP) letters of instruction (LOIs) published by the JSICP manager. Two LOIs are reproduced in Appendix D. Much of the information in this document pertains to the use of hard-copy key material. The Joint Key Management System (JKMS), under development, will enable the electronic distribution of keys within the JTF. CJCSM 6520.01, "Joint Key Management Manual," under development, will prescribe the use of this system. The local management device/key processor (LMD/KP) will not be used instead of the methods described in this manual for field generation of keys. 2. Key. A key is a sequence of random binary bits used to initially set up and periodically change permutations in cryptoequipment for encrypting or decrypting electronic signals, controlling transmission security (TRANSEC) processes (for frequency hopping or spread spectrum), or producing other keys. This definition reflects the current NSA definition of the term "key" (formerly "variable," "key variable," and "crypto-variable"). The TRI-TAC switches (AN/TYC-39, AN/TTC-39A(), AN/TTC-42) use the term "variable," and it is needed when entering information into the database of the AN/TTC-39A() CS. For example, the area interswitch rekeying variable (AIRV) must be entered using the AVL command, and is recognized by the AN/TTC-39A() software. Later systems, such as the MSE, use the term "key" in their COMSEC management functions but may also use the term "variable" (it also has the AVL command). There are two basic types of keys--KEKs and TEKs. In addition, TEKs for some applications (like TEDs and KG-84()s operating point-to-point) are used as seed keys. Seed keys are used to initialize devices for encryption. Seed keys are not expected to be used to encrypt online traffic. The use and daily update of such keys for this purpose is allowed only in exceptional circumstances where conversion to normal operational keys has been precluded. Seed keys must be updated every 24 hours during their cryptoperiod. A summary of keys required for various types of equipment found in the JTF backbone network is contained in Table II-1. ______________________________________________________________ Table II-1. Summary of Key Requirements Comments, Requirement Key Distribution Method ______________________________________________________________ AN/TYC-39A MS Local Terminals U-keys and KG-82/KG-84() X-traffic keys Locally generated 1/ or OTAR Remote Terminals U- and X-sync Manual distribution keys (this can be JSICP key) Trunk Circuits U- and X-sync Use JSICP pair-wise keys unique key system AUTODIN Access U- and X-sync Use JSICP pair-wise Lines keys unique key system HGX-83 Z-key Key tape or locally generated CS Trunks T-key Mode VI subscribers off CS, manual or OTAR from CS ______________________________________________________________ AN/TTC-39A(V)l and non-CBCS modified AN/TTC-39A(V)4 CS Local DSVTs U- and X-net TERV (U) (manual) keys and TERN (X-net) (electronic) Long Loop DSVTs U- and X-net TERV (U) and TERN keys (X-net) (manual, TERN electronic after first cryptoperiod)(this can be JSICP key) Switch CIRV--This key Key tape (JSICP), is held only at manual, or local switches. generation Switch AIRV--This key Use JSICP key, is common for a manual given pair of area codes. CPS, Local and CSS Reentry Home RH DSVTs (RH) Manual (JSICP) S-key operation S-key-- This Use JSICP S-keys key is held SCI channels for only by SCI keys subscribers. TEDs T-keys 2/ TED cold start or TED seed key key tape (JSICP), manual HGX-83 Z-key Key tape or local generation ______________________________________________________________ CBCS Local DSVTs U- and X-keys Local generation Long Loop DSVTs U-keys Use JSICP, local generation, or OTAT Switch CIRK--This key Manual, key tape or is held only at local generation switches, may be JSICP keys. Switch AIRK--This key Manual or bulk is common for a transfer (may be given pair of JSICP key) area codes. Switch BT-key Key tape or OTAR (may be JSICP key) CPS, Local and CSS Reentry Home Manual DSVTs, MSRTs (M) May be JSICP S-key operation S-key-- This Use JSICP S-keys key is held SCI channels for only by SCI keys subscribers. HGX-83 Z-key Key tape or local generation TEDs T-keys 2/ TED cold start (Tj) key tape (JSICP)- manual or TED traffic keys (T), bulk transfer ______________________________________________________________ AN/TTC-42 CS DSVT REENTRY (R) Initialization key loaded in X position. Used for cold start. Replaced by X-net. manual (JSICP). S-key operation S-key--This key Use JSICP S-keys is held only by SCI channels for subscribers. SCI keys DSVT U-Keys Used in each DSVT. Unique per DSVT. Locally generated or JSICP. DSVT X-net Key Synchronization Key. Held by all DSVTs on an AN/TTC-42. Electronic. Switch CISRV Common interswitch KEK. Held by all CPS within same area code. Manual (JSICP), OTAT, locally generated. Switch UTSRV Unique interswitch KEK. Held pair- wise between CPSs. May be used inter- or intra-area. It is used between Co- and Alt-parent. Manual (JSTCP), OTAT, locally generated. Switch AISRV Area interswitch KEK held by area boundary switches. It is used only by the boundary switches. Manual (JSICP), OTAT, locally generated. KG-94/194 3/ T-Key (JSICP) A TEK used to encrypt DTGs. Used for traffic flow security. Must be unique to each link, but used on all trunks in a link. OTAT, locally generated. KG-194 3/ FIREFLY A TEK for DTGs. Should be in netted format to allow total crypto compatibility throughout the network. They are held uniquely per each system containing KG-194s. KSD-64. DVOW CNV, RKV KY-57 keys. Only CNV is needed. Manual (JSICP), OTAT, locally generated. ______________________________________________________________ SB-3865 DSVT REENTRY (R) Initialization key loaded in X- position. Used for cold start. Same reentry as used in CPS. Use JSICP or locally generated. DSVT U-Keys Unique per DSVT. Locally generated, or use JSICP. DSVT X-net Key Synchronization key. Held by all DSVTs on a CPS. Electronic or use JSICP. KG-94A/194A 3/ T-Key Same as AN/TTC-42. S-Key operation S-Key--This key Use JSICP S-keys is held only by SCI channels for subscribers. SCI keys. ______________________________________________________________ AN/TSQ-111 DOW, Operating X-traffic key KG-82/KG-84(). Point-to-Point HGX-83 Z-Key Key tape or local generation. DVOW CNV, RKV VINSON-secured RKV-key tape CNV-key tape, OTAR, local generation. TEDs T-Key 2/ Key tape. ______________________________________________________________ 1/ "U" is a key encryption key (KEK). "X" is a traffic encryption key (TEK). 2/ Key requires updating every 24 hours. Update "01" should be implemented prior to passing traffic. 3/ TEDs in these switches should be used only when there are no available TEDs in the transmission equipment. ______________________________________________________________ 3. Rekeying Keys. Rekeying keys are used to secure electrical transmission of other keys between the CS and a DSVT or between two CSs, for example, to protect a new or subsequent TEK. Rekeying keys are KEKs. The U-key is also used between a CPS and DSVTs connected to a COMSEC subordinate switch (CSS). The U-key is also used between a CS and the AN/TYC-39 in support of data subscribers connected to the CS. It is also used between MSs or CNCEs or between the MS or CNCE and remote KG-84()s. The U-key is used for the AN/TYC-39-to-AUTODIN interface. Terminology for various CS applications of the U-key is summarized in Table 11-2. The cryptoperiod for the U-key at CPSs, MSs, and CNCEs is 3 months or the length of the mission, whichever is less. Planners must be aware of cryptoperiods and consider means to rekey the network at times of key expiration. When the KEK is used between two CSs, it is referred to as an Interswitch Rekeying Variable (IRV). The terminology used for IRVs by different switches is summarized in Table 11-3. a. Subscriber Rekeying Keys (U). These keys are held at individual subscriber terminals or in groups and at parent or host-parent switches. These KEKs are called U at the terminal equipment (KY-68 or KG-84()). U-keys are unique for ULCS and AN/TTC-39A(V)l DSVT subscribers, and are netted for DSVT subscribers of CBCSs. For subscribers connected to a CSS, the cryptoperiod is 1 month or the length of the mission, whichever is less. ______________________________________________________________ Table 11-2. Subscriber Rekey Key Terminology Type Use Comments ______________________________________________________________ TERV DSVT Rekey AN/TTC-39A(V)l U DSVT Rekey CBCS U Subscriber and CSS Rekey AN/TTC-42 HRV SB-3865 Home Rekey AN/TTC-39(A)Vl, CBCS SRV Option 11 SEN Rekey CBCS MSRV Message Switch LKG Rekey AN/TTC-39(V)l, CBCS ______________________________________________________________ b. Unique IRV. The UIRV may be used on a switch pair basis between AN/TTC-39A(V)ls, but probably will not be used due to the small quantity of switches remaining. In AN/TTC-42 networks, this key is called the UISRV. A version of this key may be held between a CPS and a CSS or between two CSSs for over-the-air transfer purposes. This use is totally manual and it is not up to the staff planner to implement. It is not assigned from ICP material and would be locally defined and controlled. CBCSs do not use this key. ______________________________________________________________ Table 11-3. Interswitch Rekey Variables Interswitch Key AN/TTC-42 AN/TTC-39A(V)l CBCS ______________________________________________________________ Common CISRV CIRV CIRK Interarea AISRV AIRV AIRK Unique UISRV UIRV -- Bulk Transfer -- -- BT ______________________________________________________________ c. CIRK. The CIRK is held by all parent switches in the same area code. In AN/TTC-42s, this key is called the CISRV. d. Interarea IRV (AIRK). The AIRK is held by interface switches connecting two given area codes for transfer of per-call keys between two area codes. For AN/TTC-42s, it is called the AISRV. 4. V-key (V). A V-key, a TEK is the per-call key used only during a given call. The V-key is generated at CPSs and is used whenever a DSVT call is placed at or transits a CPS, or transits more than one CPS. One V-key is uniquely generated on a per-call basis and is used to effect end-to-end encryption. 5. Net Keys (X). Net keys are TEKs. a. Circuit Switch Applications. For CS use, the X-key is held by all subscribers of a given net. The X-key is E~ither used to synchronize a CPS and its subscribers in nets or for encryption of traffic on calls that do not involve a CPS (calls between two DSVTs of the same CSS). It is also assigned to MSs (MSNV). The cryptoperiod for subscribers connected to the CPS is 3 months or the length of the mission, whichever is less. For subscribers connected to the CSS, the key period is 1 week. CS terminology for ,rarious applications of the X-key is summarized in Table 11-4. A cross-reference table of all commonly used keys is given in Table 11-5. ______________________________________________________________ Table 11-4. Subscriber Net Key Terminology Type Use Comments, Distribution ______________________________________________________________ TERN DSVT Net AN/TTC-39A(V)I, Manual, Electronic, or OTAR X DSVT Net CBCS, Electronic X DSVT Net AN/TTC-42, Electronic x SB-3865 Home Net AN/TTC-42, Manual, OTAT HN SB-3865 Home Net CBCS, Manual SN Option 11 Home Net CBCS, Manual MSNV Message Switch Net AN/TTC-39(V)l, CBCS, OTAR RH Reentry Home AN/TTC-39(), Manual R Reentry/Cold Start A N/TTC-42, Manual M ReentrV Home CBCS, Courier ______________________________________________________________ b. Message Switch Applications (1) Message Switch Traffic Keys (X-Traffic Keys). For the AN/TYC-39, the X-traffic variable is used to encrypt and decrypt traffic on a KG-82 to KG-84() loop. Each loop will have a different X-traffic key. The X-traffic key will also be used on trunks between AN/TYC-39s (LKG-to-LKG). The normal cryptoperiod for the X-traffic key when used with the MS is 1 week or the length of the mission, whichever is less. When the X-traffic key is used for point-to-point operation (KG-84() to KG-84()), the X-traffic key cryptoperiod is 1 month, provided the UPDATE feature on the KG-84() is used once a day. (2) Initial Synchronization KeV (X-SynC Key). To reduce the number of tapes required at the AN/TYC-39 and subscriber locations, a common synchronization key (X-sync key) will be employed. This X-sync key will be common to message switches and only used to initialize KG-84()s and dedicated KG-82s considered long loops off the message switch (terminals, trunks, and AUTODIN interface). The X-sync key is intended only to sync the loop(s), and once in sync with the KG-82, the X-sync key must be replaced with the X-traffic key. Therefore, once loaded and in sync with the KG-82, the X-sync key must be replaced with an X-traffic key (different for each KG-82/84-KG-82/82 loop) by remote electronic rekeying from the controlling AN/TYC-39. ____________________________________________________________________ Table 11-5. Key Cross Reference List Key CBCS AN/TTC-42 AN/TYC-39( ) CNCE ____________________________________________________________________ Rekey Subscriber U U U Net U SB-3865 Home Rekey HRV U Option 11 Home Rekey SRV Message Switch LKG MSRV U Rekey (Interswitch) Common CIRK CISRV Unique UISRV Interarea AIRK AISRV Rekey (Orderwire) RKV RKV RKV RKV Duplicate RKVD Bulk Transfer BT Traffic Net X X X-Traffic X SB-3865 Home Net HN X Option 11 Home Net SN Message Switch Net MSNV X MS Initialization X-Sync Reentry Home M R Orderwire CNV CNV CNV CNV Compartmented S S Trunk T T T T TED Cold Start 1/ TI T T T Z-Key Z Z Z Z
____________________________________________________________________

1/ Held in common with the transmission network 
____________________________________________________________________


    c. CNCE Applications. The TEK X encrypts and decrypts 
DOW traffic on an LKG/KG-84() combination. It will also be 
used between CNCEs (LKG to LKG). KG-84()-to-KG-84() DOW 
links will also use the TEK X. The normal cryptoperiod for 
the TEK X when used with the CNCE is 1 week or the length of 
the mission, whichever is less. 

NOTE: When the TEK X is used for point-to-point operation 
      (KG-84()-to-KG-84()), the TEK X cryptoperiod is 
      1 month, provided the update function on the KG-84() 
      is used once a day. 

6. Z-Key. The Z-key, a KEK, is used with the Z-key 
generator (ZKG) on the HGX-83. The ZKG encrypts and 
decrypts keys when they are read into or out of the HUS. 
Zeroizing the ZKG protects the contents of the HUS in an 
emergency. The normal cryptoperiod for the Z-key is 3 
months or the length of the mission, whichever is less. 

7. Reentry Home Key (M, RH, or R) 

   a. The M-key, a TEK, is used in CS applications. It is 
loaded manually with a fill device and is used for a cold 
start or for a zeroized DSVT to reenter the net. All 
subscribers connected to a CPS (including those connected 
through a CSS) will be loaded with the same RH-key in common 
with the CPS. The M-key is loaded in the X-key location and 
is used only for initial synchronization of the zeroized 
DSVT. The M-key is immediately replaced with the current 
X-net key by the CPS when the subscriber using the M-key 
first goes offhook. 

  b. For the AN/TTC-42, it is called R, and has 
additional uses. It also serves as the traffic key in 
stand-alone SB-3865s in the initial phase of a deployment. 
In this application, it is loaded in both positions in the 
KY-68 (the key in the LDU position is not used but must be 
loaded for proper DSVT operation). The cryptoperiod in this 
application is 30 days or the duration of the mission, 
whichever is less. As an AN/TTC-42 network is established, 
the initial R-key is replaced by keys generated at the CPSs. 

  c. In the AN/TTC-39A(V)1, the reentry home key is 
called RH. The M-key is common within an area code, but may 
be unique to an AN/TTC-39A(V)1 or AN/TTC-42. The 
cryptoperiod for the M-key is 3 months or the length of the 
mission, whichever is less. In CBCSs equipped with radio 
access units (RAUs), the M-key is also used for encrypting 
signaling between the mobile subscriber radio terminal 
(MSRT) and RAU. The cryptoperiod in the MSE system for both 
applications is 30 days. 

8. Compartmented Key (S). The S-key, a TEK, is used by 
small select communities of interest for discussing TOP 
SECRET or compartmented information over DSVTs. The S-key 
is used only by subscriber terminals and not switches and 
can be distributed only by courier, either in hard-copy key 
material (HCKM) or stored in an electronic fill device. For 
the joint network, the key material will either be HCKM or 
will be generated by the AN/TYC-39 MS AKDC for transfer to 
the electronic fill device. When the S-key is generated at 
the AKDC, a copy should not be maintained at the message 
switch. The MS must be certified for TOP SECRET, whereas 
the CS will only be certified for SECRET. The cryptoperiod 
is 3 months, or the length of the mission, whichever is 
less. 

9. Trunk Traffic Key (T). The T-key, a TEK also known as a 
seed key, is a two-holder, point-to-point key used to 
initialize TEDs for bulk encryption for trunk traffic and 
signaling. Whichever switch is the controlling end is 
responsible for distributing the T-key to the other end. 
For the joint network, the JTF switch will be the 
controlling or master switch and must distribute T-keys to 
the other switches. The cryptoperiod for the T-key is 
30 days, with a daily update. Seed keys must be updated 
every 24 hours. In the MSE network, T-keys for trunks to 
CPSs are not unique. Between NCSs, different keys are used 
for each trunk. In the documentation for MSE or CBCS 
network operation, specific nomenclature is used for various 
applications of the T-key. T i is the T-key used for circuit 
initialization. T i and TI are designators for the initial- 
ization key. T n (network) is used on trunks between pairs 
of CPSs. T e (extension) is used on trunks between CPSs and 
CSSs. T g (gateway) is used for trunks that traverse an area 
code gateway. For dial-and-hold circuits, a unique T-key 
for each circuit should be generated at the establishing 
switch and bulk transferred to the switch at the other end. 
A call may be established and maintained for 7 days before a 
rekey is required. A specific request is required to keep a 
call up for a longer period. 

10. Bulk Transfer Key (BT). The BT-key is a KEK used in 
the CBCS network to encrypt AKDC-to-AKDC transfers of keys 
between nodes. The BT-key is pre-positioned. The crypto- 
period is 30 days. 

11. VINSON Cryptonet Variable (CNV). The CNV is a TEK used 
to encrypt VINSON-secured orderwire traffic. The 
cryptoperiod is 30 days. 

12. VINSON Rekey Variable (RKV). The RKV is a KEK used for 
remote rekeying in VINSON-secured nets. The cryptoperiod is 
30 days. 

13. Manual Cooperative Variable Transfer (MCVT) (DSVT-to- 
DSVT). The MCVT is used to manually transfer net (X), TED 
seed, subscriber rekey (U), reentry (M, R, or RH), and 
contingency keys between switch nodes. The procedures 
require the use of the DSVT and KYX-15 or DTD at both the 
sending and receiving switch nodes. Each switch node must 
have the same KEK stored in the KYX-15 or DTD. The control- 
ling node must also have the variable(s) to be transferred 
stored in its KYX-15 or DTD. The MCVT will be accomplished 
using the procedures found in KAO-193A/TSEC, subparagraph 
2004.i. MCVT procedures, including analogous procedures for 
KY-57s and comparable OTAT procedures for KG-84()s, are 
contained in NAG-16D. 

14. Joint Staff Intertheater COMSEC Package. The JSICP is 
an array of COMSEC material used in certain applications. 
See CJCSI 6510.03 or the current version of the "Joint Staff 
ICP Manager's Electronic Redbook," available on the SIPRNET 
at http://www.centcom.smil.mil, for further information. 

15. Key Management. A key management plan is required for 
each deployment. This plan should indicate the source of 
each key required by the network; who is responsible for key 
provisioning, generation, transfer, and daily update of 
T-keys; and how the network is to be rekeyed. It should 
also provide guidelines for general control and management 
of keys throughout the network. Keys generated by key 
generators or read from a KOI-18 tape reader at sites that 
have AKDCs must be controlled. This includes all keys that 
are actually used. Keys automatically placed in AKDC 
locations as part of the initialization process do not need 
to be controlled if they are later replaced by another key 
that is actually used. 

    a. Responsibilities. Local supervisors are responsible 
for controlling and managing all keys generated at their 
facilities. 

    b. Accountability. All keys in electronic form will be 
accounted for in key management logs. Logs are generally 
classified CONFIDENTIAL when filled in. The following line 
entries must be recorded on the log for each key, depending 
upon the type of equipment used at the facility: 

       (1) Type of Key. The type of key to be entered 
into the log. 

       (2) Cryptoperiod. The cryptoperiod of the key. 
This information is recorded in the DTG Generated and DTG 
Scheduled Supersession columns. 

       (3) Accounting Number. An accounting number 
consists of the last two digits of the year, a four-digit 
serial number, and a single letter signifying the key type: 
U (rekeying), X (traffic), etc. 

       (4) AKDC HUS Location. Location in the HUS where 
the key is stored. The AN/TTC-39() log also requires the 
directory number or matrix location associated with the 
assignment. 

       (5) Class. Classification. 

       (6) DTG Generated. Date/time group generated. 

       (7) DTG Scheduled Supersession. Date/time group 
the key is scheduled for supersession. This entry is made 
when the key is first entered into the log. 

       (8) DTG Superseded. Date/time group of the actual 
key supersession. 

       (9) User ID. Intended user identification; phone 
number or routing indicator. 

       (10) How Transferred. Electronically or by 
courier. If by courier, include courier's initials. 

       (11) ETD/NCD/DTD Location. Serial number of device 
and location in device where key is stored. 

       (12) Equipment. Specific equipment in which the 
key is to be stored. 

       (13) Location of Equipment. Geographic location. 

       (14) Remarks. Any pertinent information relating 
to the key or its distribution. 

       (15) Key Tape Information. Enter the unique COMSEC 
short title (USKAT-_____ ), edition segment number, and other 
pertinent information. 

    d. Supersession. Supervisors are responsible for the 
timely and orderly supersession of all keys generated at 
their facilities. They should coordinate the distribution 
of keys in sufficient time to allow changes before the end 
of the cryptoperiod. Whenever a key is superseded, enter 
the date/time group of supersession in the key management 
log. 


CHAPTER III CIRCUIT SWITCHING NETWORK COMSEC EQUIPMENT AND PROCEDURES 1. Introduction. This chapter identifies the COMSEC equipment used to support secure voice subscribers in a joint network. In conjunction with CJCSM 6231.02A, it provides procedures for system planner-engineers to develop databases for secure voice subscribers. It also provides information about other procedures related to secure voice operation. The bulk of this chapter pertains to the various versions of the common baseline circuit switch, since they comprise the majority of switches in the JTF network. However, pertinent information about secure voice operation of other switches likely to be found in the joint arena is provided also. With the advent of the CBCS, it is now possible to place most or all of the JTF network in the same area code. Formerly, the "JTF backbone" network (composed of switches at the JTF HQ, JSOTF HQ, and Service component HQ) was in its own area code and was managed by the JCCC. Switches at these nodes are still the primary interest of the joint planners. The information in this manual is focused at the joint planners. After any initial surge, switches at these nodes (except NAVFOR and MARFOR) are likely to be variants of the AN/TTC-39(). 2. AN/TTC-39(). The AN/TTC-39() family of switches includes the AN/TTC-39A(V)1 (not a CBCS), the AN/TTC-39A(V)3, the AN/TTC-39A(V)4, the AN/TTC-39D, the compact digital switch (CDS), and the switch multiplex unit (SMU). The COMSEC equipment used to support subscribers is the TSEC/KG-82. It is cryptographically compatible with the KY-68, the KG-84(), or another KG-82 or KG-112. It is basically the same as used in the AN/TYC-39() MS. The difference is the control of the COMSEC equipment in the CS as opposed to the MS. In the CSs, the processor automatically controls these commands. In the MS, the commands needed to generate keys, load the HUS, key, and rekey the COMSEC equipment are operator controlled. However, initialization of the CS is similar to the MS. The difference is that at the CS, a combination of keyboard entries and manual commands must be used. Another difference is that in the message switch, the KG-82 LKG is dedicated to a subscriber loop and operates in conjunction with a KG-84(). In the CS, the LKGs are pooled and are online with the DSVT only during the signaling phase, key transfer, or conference calls. Within the CBCS network, LKGs are not tied up on direct DNVT-DNVT PDS=Y calls, but one LKG stays online when a DSVT is connected to a DNVT. Upon completion of the signaling phase, the LKG is returned to the pool (offline). When a DSVT is connected to a nonsecure telephone, the circuit switch electronically switches the DSVT to a plain text mode and the LKG is dropped after call setup. A small number of AN/TTC-39A(V)1s will remain in service. All other versions of the AN/TTC-39() have been or will be converted to CBCSs. In a CBCS network, the AN/TTC-39A(V)1 must function as a private branch exchange (PBX). For information about the AN/TTC-39A(V)1, see CJCSM 6231.02A. a. Equipment Configuration. The HGF-85 is the COMSEC CEF system for an AN/TTC-39A. An HGF-85 rack consists of 2 HGX-84s, 2 HGX-83s, 4 HGX-82s, 32 LKGS, 2 KG-83s, and 2 HGF-91s. Each HGF-91 provides for three KG-94/194s. The AN/TTC-39D uses an HGF-87 rack instead of an HGF-85. The only difference in makeup is that an HGF-87 contains HGX-83As instead of HGX-83s. Each switch also has a trunk encryption module containing an additional 3 HGF-91s with 9 associated KG-94/194s. The CDS and SMU generally appear (singly or in combination) in various equipment suites (i.e., AN/TTC-39E(V)1, AN/TSQ-188(), AN/TSQ-201, and AN/TSC-143). The CDS and SMU support any TRI-TAC COMSEC equipment, but may or may not have a full COMSEC suite, depending upon the application. All applications generally include TEDs. The number of TEDs may vary with the combination of CDSs and SMUs employed. COMSEC equipment complements for all CPS CBCSs (including combinations of CDSs and SMUs) are summarized in Table III-1. ________________________________________________________________ Table III-1. CBCS COMSEC Complements CDS CDS SMU 39Av3 39Av4 39D CDS w/CDS w/SMU SMU w/SMU NCS LEN FES TEDs 15 15 15 9 18 15 15 15 15 3 4 HGX-83A 2 2 2 1/ 1/ 1/ 1/ 1/ KGX-93A 1/ 1/ 1/ 1/ 1/ 1 1 1 KG-82 32 32 32 1/ 1/ 1/ 1/ 1/ KG-112 1/ 1/ 1/ 1/ 1/ 8 8 8 ________________________________________________________________ 1/ Supports either AN/TTC-39() or MSE configuration ________________________________________________________________ b. System Description. The AN/TTC-39() CS is designated as a CPS. AN/TTC-39A(V)1s generate common X-keys for all DSVTs in a net connected to the switch, a rekeying U-key unique to each DSVT, and the V-key generated on a per-call basis. CBCSs use netted U-keys and a common X-key. The V-key is generated at the circuit switch and is encrypted in the U-key assigned to the called and calling DSVT and sent to each DSVT. Thus, the V-key is generated on a per-call basis and is used for end-to-end encryption. When two or more CBCSs are connected into a network, one of the switches must be designated as the master. The master for an area code generates the U- and X-keys for that area code. Personnel at the master switch are responsible for the distribution of trunk and interswitch rekeying keys. As previously explained, the AN/TTC-39() is designated as a CPS, which means that this type of switch will house the COMSEC equipment AKDC/RCU, LKGs, and associated equipment to secure signaling and supervision information on loops, generate keys, manage traffic keys on a per-call basis, and provide other COMSEC functions. The AN/TTC-42 also functions as a CPS. In joint applications, CBCS AN/TTC-39()s can be configured as a CPS for the AN/TTC-48A(V)2 echelons above corps (EAC) small extension node (SEN), the SB-3865, AN/TTC-48A, and Option 11 switches, all CSSs. A circuit switch network, showing locations where various keys may be generated, held, or used, is depicted in Figure III-1. Figure III-2 depicts a possible configuration of a CBCS network, showing all required keys. ______________________________________________________________ Figure III-1. Required Keys for a CBCS Network ______________________________________________________________ Figure III-2. Example CBCS Network ______________________________________________________________ c. Net Definition. Each switch will employ its X-keys, or net keys, which are held by all of its directly connected DSVTs and are used during the initial signaling phase. U-keys are divided into 25 nets at each switch. Subscribers are automatically assigned to a U net based on their user profile. Nets U-24 and U-25 are reserved for S-key holders. The maximum net size for the U-key is 250. To allow for mobile subscribers to affiliate at any switch, the X- and U-net keys must be common to a home area code. d. LKG Usage. The LKGs contained in the HGF-85 or HGF-87 COMSEC module are normally configured to operate on a pooled basis. However, during the signaling phase and conference calls (RED), the LKG will operate with the DSVT in the link encryption mode. The LKG will encrypt and decrypt signaling information in the X-key and will also send the V-key using the DSVT assigned U-key. This same V-key is also sent to the called DSVT using the U-key assigned to that DSVT and another LKG. After completion of the V-key distribution and dialing sequence by the LKGs, the LKGs are switched back to the pooled mode, and the called and calling DSVTs will synchronize in the V-key for end-to-end operation using the per-call V-key. Upon completion of the call, the called and calling party go onhook and the V-key is erased from volatile memory. The LKG will also operate in the link encryption mode when it engages in a call with a secure DNVT. During the voice mode, synchronization between DSVTs will be automatic using the AUTO-RESYNC capability of the DSVT. This is the most common example of LKG usage. LKGs are also used to transfer X-key to DSVT subscribers whenever a DSVT affiliates with an M- or R-key loaded in its X location and at the end of the X-key cryptoperiod. Specific examples of other scenarios are presented in paragraph 17. e. Keys and Key Management. The primary means of key distribution in the CBCS network is electronic bulk transfer from AKDC to AKDC. These transfers are encrypted with the BT key. (The BT key is always distributed manually.) Lists of keys can be created and distributed using the Assign, Transfer, and Activate Lists (ATL) and Assign Bulk Transfer (ABT) screens of the NCS and LEN. Keys can be distributed by manual operation of the AKDC. The AN/TTC-39A(V)1 is not capable of bulk transfer. 3. Mobile Subscriber Equipment. MSE is the US Army's area communications system for echelons corps and below. MSE switches are CBCSs. There are three types of switches in the MSE system: the AN/TTC-47 Node Center Switch (NCS), the AN/TTC-46 Large Extension Node (LEN), and the AN/TTC-48 SEN. The NCS and LEN function as a CPS. The system also contains radio access units (RAUs), which work in conjunction with NCSs to service mobile subscribers who have MSRTs. As a result of CBCS modifications, MSE switches can now operate at either 16 or 32 kbps. However, switches servicing RAUs and MSRTs are restricted to 16 kbps. As an option, the LEN and SEN can service CNR callers through a secure digital net radio interface unit (SDNRIU). The SDNRIU is really a KY-90 and appears to the switch as a DSVT. SENs and RAUs must have all keys trunking data duplicated to at least one switch in addition to the servicing CPS, so the servicing CPS can be bypassed if it fails. Two switches similar to the MSE network switches, but used for different purposes, are the AN/TTC-50 Force Entry Switch (FES) and the AN/TTC-51 Dismounted Extension Switch (DES). The FES is a CPS, while the DES is CSS. See CJCSM 6231.02A for further information about these switches. a. COMSEC Equipment. Both the NCS and LEN contain one KGX-93A AKDC. They also contain one HGF-96 transition unit nest assembly (TUNA) and eight KG-112 dual LKGs. Both can contain KG-94A or -194A TEDs; the NCS has 15, the LEN has 3. No new KG-94As are being fielded. Existing KG-94As are being replaced by KG-194As. The SEN performs no COMSEC functions for its subscribers and contains only one TED. The SEN and LEN can be configured with one KY-90. The RAU uses the MO-3(C)/G mobile COMSEC unit (MCU) for encryption of signaling between the RAU and each MSRT. The RAU contains eight of these units; each MSRT contains one. Traffic on these links is encrypted by DSVTs. The FES contains one KGX-93A, one HGF-96, eight KG-112s, and up to eight KG-194As. The DES contains one KG-194A. COMSEC complements for MSE CPSs are shown in Table III-1. b. Keys and Key Management. The primary means of key distribution in the MSE network is electronic bulk transfer from AKDC to AKDC. These transfers are encrypted with the BT-key. (The BT-key is always distributed manually.) Lists of keys can be created and distributed using the assign, transfer, and activate lists (ATL) and assign bulk transfer (ABT) screens of the NCS and LEN. Keys can also be distributed by manual operation of the AKDC. 4. Unit Level Circuit Switches. The ULCSs are the AN/TTC-42 and the SB-3865 (both are not CBCSs). The AN/TTC-42 is a CPS, while the SB-3865 is a CSS. For more information, see CJCSM 6231.02A. a. COMSEC Equipment. The AN/TTC-42 contains 2 KGX-93 AKDCs, 2 HGF-93 TUNAs, and 16 KG-82 LKGs. It can also contain up to six KG-94/194 TEDs, housed in two HGF-94 transition unit frame assemblies. The SB-3865 contains no COMSEC equipment. It may use one KG-94A/194A TED, external to the switch. Only Modem 001 may be secured by that TED. The other two trunk groups must be secured at the transmission facility. All three trunk groups should be encrypted at the transmission facility, if possible. b. Parent-Subordinate Relationships. The alt-/co-parent relationship is a special relationship established between two CPSs to provide alternate routing for secure calls to and from a CSS network and to continue providing COMSEC service to a CSS network in the event of a catastrophic failure to the subordinate network's parent switch. A co-parent is a CPS whose subordinate switch network can be controlled by another CPS. An alt-parent is a CPS capable of controlling the subordinate switch network belonging to another CPS. Co- and alt-parent switches must be directly connected. Home subordinate network is the term used to refer to the CSS network of the co-parent switch. Lateral subordinate network is the term used by the alt-parent to refer to the CSS network of its co-parent. SB-3865s are frequently deployed in networks with both alt- and co-parent CPSs assigned. By holding keys for the lateral CSS network, the alt-parent is able to provide complete secure service for the CSS DSVTs, and, in the event of a failure of the co-parent, resume any incomplete REKEYs of the lateral network. The alt-parent must NOT initiate a REKEY of the lateral network unless the alt-parent assigns these switches as part of its home network. This process is key management sensitive and is not recommended. The alt-/co-parent relationship does not provide alternative service for DSVTs or other terminals directly connected to a CPS. It is only for selected CSSs which must have access to a directly connected digital in-band trunk signaling (DIBTS) link to the alt-parent. This route may be over other DIBTS links within the lateral network; the route cannot be made over or through a common channel interswitch signaling (CCIS) link. c. Keys and Key Management. The ULCSs use most of the same keys as CBCSs. However, some keys have different names. See Chapter II. AN/TTC-42s cannot perform bulk key transfer in the same manner as CBCSs; however, electronic key transfer between switches is possible. See subparagraph 7d. 5. CBCS Database Considerations. Required CBCS database parameters and worksheets are discussed in CJCSM 6231.02A. This paragraph describes selected elements of the database for secure subscribers. a. Assign Digital Transmission Group (ADT). When a digital transmission group (DTG) is assigned, the security must also be designated. If security is required, a TED must be installed and the proper classmark selected, which is TED (0-15, 0 = NONE). The entry must be 0 if the DTG is in repeater mode, supports a 4½ channel group to a remote loop group multiplexer, or supports a multiplexed orderwire group from the Orderwire Control Unit Type II. TEDs available normal-through for specific DTGs, by switch type, are shown in Table III-2. TEDs may be used for other DTGs, but patching is required. b. Assign Net Rekey (ANR). The ANR command identifies a specific net or group of nets for a rekeying cycle, or initiates a cold start for the SB-3865. The sequence of entries for an SB-3865 cold start is G, 00, new net number. ______________________________________________________________ Table III-2. TEDS Available Normal-Through, by DTG Switch Type DTGs Available AN/TTC-39A(V)3 DTG 1 to TED 1 AN/TTC-39A(V)4 DTG 2 to TED 2 AN/TTC-39D DTG 3 to TED 3 CDS DTG 4 to TED 4 DTG 5 to TED 5 DTG 6 to TED 6 DTG 7 to TED 7 DTG 8 to TED 8 DTG 9 to TED 9 AN/TTC-39A(V)3 DTG 16 to TED 10 AN/TTC-39A(V)4 DTG 17 to TED 11 AN/TTC-39D DTG 18 to TED 12 DTG 19 to TED 13 DTG 20 to TED 14 DTG 21 to TED 15 AN/TSC-143 DTG 2 to TED 1 DTG 3 to TED 2 DTG 4 to TED 3 ______________________________________________________________ AN/TTC-47 DTG 1 to TED 1 DTG 2 to TED 2 DTG 3 to TED 3 DTG 4 to TED 4 DTG 5 to TED 5 DTG 6 to TED 6 DTG 7 to TED 7 DTG 8 to TED 8 ______________________________________________________________ AN/TTC-46 DTG 1 to TED 1 DTG 5 to TED 5 DTG 16 to TED 9 ______________________________________________________________ c. Assign Variable Location (AVL). The AVL command identifies the COMSEC ID for any optional keys used by the CS. Required keys are assigned by executing the commands AAL or APL. During initialization of the HGX-83 or KGX- 93/93A, one of them must be assigned to the online position, which normally occurs on power-up, and the other must be assigned to the standby position. However, if one of them is not online, an ASSIGN ONLINE DIAGNOSTIC (AOD) command is entered, which would be AOD-93, "HGX-83 SWITCHOVER UNIT #, TYPE." Upon completion of this command, one of the AKDCs status indications displays ONLINE. The other, if offline, can be switched to the STANDBY position. This is done using the AOD-93 command, "HGX-83 SWITCHOVER UNIT #, Type #3," where 3 indicates offline to standby. The AN/TTC-39A(V)1 requires all keys be entered by the AVL command. See CJCSM 6231.02A. A list of optional keys, with recommended storage locations and other required information, is shown in Table III-3. _______________________________________________________________ Table III-3. Recommended Storage Locations for CBCS Optional Keys Recommended Storage Location Key HGX-83A KGX-93A Dir No/BS-LA Key Type Net No _______________________________________________________________ AIRK 130-150 130-150 NYX AIRK N/A SB-3865 Net 902-911 202-211 NNX(X) HN 2-11 1/ Rekey 151-159 151-159 NNX()X HRV 1-9 2/ Option 11 Net 902-911 202-211 NNX(X) SN 2-11 1/ Rekey 160-169 160-169 NNX(X) SRV 60-69 2/ MS Net 902-911 202-211 XX-XX MSNV 2-11 1/ Rekey 170-198 170-198 XX-XX MSRV 70-98 2/ _______________________________________________________________ 1/ Use last two digits of storage location as net number. 2/ Use last digit of storage location as net number. _______________________________________________________________ d. Assign Transfer Lists (ATL). This command identifies the COMSEC ID for a particular key or a range of COMSEC IDs for a contiguous group of keys to be defined as a list to be subsequently transferred to another switch. The AN/TTC-39A(V)1 does not have this capability. e. Assign Bulk Transfer (ABT). This command generates or activates a key or list of keys, or transfers a key or list of keys to another switch. The entry for "authorization to accept bulk transfer" must be set to Y in the receiving switch in order to accept bulk transfer. The AN/TTC-39A(V)1 does not have this capability. Neither does the AN/TTC-42. f. Duplication and Bypass. CBCSs use a series of commands (assign bypass and duplication (ABD), assign bypass reception (ABR), and assign local duplication (ALD)) to accommodate SEN and RAU subscribers and designated essential users in the event of switch failure. There is no longer a specific set of commands required to accommodate essential users, nor is there a set of keys specifically designated for essential users. See CJCSM 6231.02A for more information about duplication and bypass. g. Security Classmarks. Security classmarks are part of each individual subscriber's profile and are assigned automatically using the APL, AAL, or APF commands. The four classmarks are: P = Preferred, R = Required, N = Nonsecure, and E = End-To-End Encryption Required. 6. AN/TTC-42 Database Construction. COMSEC functions are performed using a series of menu-based index (IDX) procedures. These procedures are divided into three categories: key assignment, rekey management, and transfer/purge control. Worksheets to aid in performing these functions are contained in CJCSM 6231.02A. a. Key Assignment. This series of procedures enables the operator to perform net key assignments, local DSVT assignments, ISRV assignments, subordinate switch assignments, and external key assignments, and to display AKDC status. The information required to make these assignments is basically the same as for the AN/TTC-39(); however, the terminology and information entry order are different. b. Rekey Management. These procedures allow the operator to rekey the home subnetwork (REKEY NET), a particular switch (REKEY SWITCH), or the lateral subnetwork (REKEY LAT NET). They also allow the operator to change or display rekeying status. c. Transfer/Purge Control. This series of procedures allows net, rekey, and CSS keys to be purged or transferred to the alt-parent. 7. Co-Parent and Alt-Parent Procedures for ULCS. The co- and alt-parent must be directly connected (no intermediate switch). a. At the Alt-Parent. The operator defines the alt-parent, loads the UISRV in AKDC UVS location 008, and enters the co-parent's home CSS network as lateral CSSs. The alt-parent must have a direct DIBTS route to the lateral network. (For proper network routing, this route MUST be the primary route from the alt-parent to the lateral network.) b. At the Co-Parent. The operator defines the alt-parent and loads the UISRV in AKDC UVS location 007. (This UISRV is no different than any other UISRV, except that it is also used to encrypt the transfer of the Reentry, Net, and U-keys assigned to the home CSS of the alt-parent.) The operator performs Command 11 at the AKDC to transfer Reentry and U-keys to the lateral switch. The switch will not default if this is not done. The operator then rekeys home CSS switches. The switch defaults to require these net keys be transferred to the alt-parent before the REKEY function is initiated. Upon successful transfer of keys, the alt- and co-parent relationship is established. c. At the CSS Network. The operators define the co-parent and alt-parent switches. The link from the lateral network to the alt-parent must be the PRIMARY route from each lateral switch to the alt-parent and to that portion of the network which is accessed through that switch. If the primary route is selected through the co-parent, alt-routing will not occur if the link between the alt- and co-parent is "out of service" or "busy." d. Key Transfer. Although the AN/TTC-42 does not perform a "bulk" transfer, it can be used to transfer keys between switches. To perform this function, the TRANSMITTING switch must define the RECEIVING switch as an alt-parent, while the RECEIVING switch defines the TRANSMITTING switch as a co-parent. A "dummy" CSS is then entered in each switch as either a home or lateral switch, as appropriate. Each switch must then load the KEK as the UISRV in either location 007 or 008. A manual "transfer variable" routine is then initiated by the co-parent operator, who then may transfer the key(s) to the alt-parent. Although appearing cumbersome, this is an easy method to transfer (OTAT) a large number of keys through the network. This procedure must be done between directly connected CPSs. Using this method, it is possible with one common, two party key in the network, for one switch to generate certain keys and initialize the network without dependence upon keytape. 8. Keys and Key Management. Keys used in circuit switch applications are discussed in Chapter II. All keys in electronic form will be accounted for in a log. The log is CONFIDENTIAL when filled in. 9. Key Assignments Within the HUS. All keys that are required for CBCS operation have preassigned HUS locations. These locations are shown in Table III-4. Additional (optional) keys are assigned using the AVL command. Recommended key locations are in Table III-3. After keys have been assigned to the HUS, use Command 57 to transfer variables from the HUS/COMSEC ID to the AKDC Fill Buffer and then to a fill device. Command 57 is used to load the fill devices for distribution of variables to local subscribers. Remote subscribers normally receive variables via pre- positioned tape, and these subscriber terminals must be loaded using the KOI-18 tape reader. HUS locations used by the Marine Corps in the AN/TTC-42 are shown in Table III-5. 10. Load TED to TED (Trunking). When assigning a digital transmission group, the TED must be assigned if traffic flow security is needed for a particular deployment. Therefore, if traffic flow security is required between two AN/TTC-39s, the TEDs must be assigned using the ADT Command--Assign Digital Transmission Group--which is TED (0-15, 0 = NONE). Before activating the TEDS, they must be internally strapped for proper operation (see Apendix G). TEDS are also used for traffic encryption in some applications. 11. Tactical-Strategic Interface. Interface to the Defense Red Switch Network or other strategic secure network can be done in two ways, though the specific type of secure switch or availability of other required equipment may force the use of one method instead of the other. One method is through a DSVT (or equivalent) at the strategic end. This DSVT is treated as a long loop off the AN/TTC-39(). (See Figure III-3.) Another example of this connectivity is shown in Figure III-4. The other method involves establishing interswitch trunks using multiple rate voice cards (MRVCs) at both ends. This is a nonstandard con- figuration, using KG-84() family equipment at both ends. Typical connectivity for this method is shown in Figure III-5. Required keys are the appropriate U- and X-keys. Hard-copy key material is required to support these interfaces. Technical information about establishing these interfaces and others can be found in CJCSM 6231.02A. ______________________________________________________________ Table III-4. CBCS Storage Locations for Preassigned Keys _____________________________________________________________ HGX-83 HUS FUNCTION KGX-93 HUS LOCATIONS LOCATIONS _______________ _______________ A B A B _____________________________________________________________ 0 223 RESERVED 0 256 1 224 CIRIK 1 257 2 225 COMMON BT 2 258 3 226 U NET 1 3 259 4 227 NET 2 4 260 5 228 NET 3 5 261 6 229 NET 4 6 262 7 230 NET 5 7 263 8 231 NET 6 8 264 9 232 NET 7 9 265 10 233 NET 8 10 266 11 234 NET 9 11 267 12 235 NET 10 12 268 13 236 NET 11 13 269 14 237 NET 12 14 270 15 238 NET 13 15 271 16 239 NET 14 16 272 17 240 NET 15 17 273 18 241 NET 16 18 274 19 242 NET 17 19 275 20 243 NET 18 20 276 21 244 NET 19 21 277 22 245 NET 20 22 278 23 246 NET 21 23 279 24 247 NET 22 24 280 25 248 NET 23 25 281 26 249 NET 24 26 282 27 250 NET 25 27 283 28 251 RKV 28 284 29 252 CNV 29 285 30 253 TI 30 286 31-96 254-319 AVAILABLE 31-96 287-35 97 320 RKV 97 353 98 321 RKV 98 354 99 322 RKV 99 355 100 323 RKV 100 356 101 324 T 101 357 102 325 T 102 358 103 326 T 103 359 104 327 T 104 360 105 328 T 105 361 106 329 T 106 362 107 330 T 107 363 108 331 T 108 364 109 332 T 109 365 110 333 T 110 366 111 334 T 111 367 112 335 T 112 368 113 336 T 113 369 114 337 T 114 370 115 338 T 115 371 116 339 T 116 372 117 340 T 117 373 118 341 T 118 374 119 342 T 119 375 120 343 T 120 376 121 344 T 121 377 122 345 T 122 378 123 346 T 123 379 124 347 T 124 380 125 348 T 125 381 126-222 349-445 AVAILABLE 126-222 382-478 880 912 M 224 480 881 913 NET 2(A) X NET 27(B) 225 481 882-911 914-943 AVAILABLE 226-255 482-511 446-879 944-1007 AVAILABLE _____________________________________________________________ ________________________________________________________________ Table III-5. AN/TTC-42 HUS Allocations ________________________________________________________________ Location Key Type Remarks ________________________________________________________________ 000 Reserved for switch use 001 CISRV Location must be marked "valid" 002 ISRV Formerly reserved for DAMA ISRV, not used 003-006 AISRV 007 UISRV Of alt-parent, at co-parent 008 UISRV Of co-parent, at alt-parent 009-070 UISRV 071-100 Spare Extra-switch, not used by switch software 101-220 U Directly connected subscribers 221 U Post-nuclear 222-223 Reserved for AKDC diagnostics 224-253 X Home nets 254 R May be ICP long local key 255 X post-nuclear 256-300 Spare Extra-switch 301-348 U CSS subscribers 349-400 Spare Extra-switch 401-448 U Lateral subnetwork 449-476 Spare Extra-switch 477 CISRV Lateral switch 478-479 Reserved for AKDC diagnostics 480-509 X Lateral subnetwork 510 R Lateral subnetwork 511 CISRV Lateral switch ________________________________________________________________ Figure III-3. Typical Red Switch Connectivity ________________________________________________________________ Figure III-4. Possible Red Switch Connectivity ________________________________________________________________ Figure III-5. Example Red Switch Interswitch Trunk Connectivity ________________________________________________________________ 12. Protected Distribution Systems and Approved Loops. CBCSs permit switches and their subscribers to operate in a PDS, using different handling rules for secure calls than would be used for unprotected distribution systems. The switch is classmarked for PDS operation using the PDS=Y/N entry on the assign switch initialization (ASI) screen. PDS=Y allows SECRET-high traffic to operate in areas of the network without encryption. DNVT subscribers classmarked SP, when affiliated with a PDS=Y switch, may complete secure calls to any DSVT subscribers in the network, any DNVT subscribers that are classmarked SP at a PDS=Y switch, or any SR subscribers. The Army operates its switches PDS=Y, while the other Services and JCSE operate PDS=N. Switches classmarked PDS=N may use approved loops for DNVT and analog subscribers, though this is seldom done. The "approved loop" must meet the requirements specified for a PDS in NSTISSI 7003 and NACSIM 5203. The DNVT (or other telephones so classmarked) can talk only to a secure subscriber. When approved loops are implemented, the secure call privilege on those loops must be R = Required. For the DSVT, the secure call privilege can be R or P = Preferred. When the R classmark is used, a secure path must be available to complete the call. Therefore, it is suggested that the DSVTs use the secure call privilege P. Army DNVT subscribers classmarked SP may affiliate at a PDS=N switch, but will be downgraded to NS, and NSWT will be played throughout all calls. Figures III-6, III-7, and III-8 illustrate different call combinations in a mixed (PDS= Y or N) network. Table III-6 lists allowable calls in CBCS networks. See NSTISSI 7003 for more information about PDS requirements. ________________________________________________________________ Figure III-6. PDS Call Combinations (1 of 3) ________________________________________________________________ Figure III-7. PDS Call Combinations (2 of 3) ________________________________________________________________ Figure III-8. PDS Call Combinations (3 of 3) ________________________________________________________________ __________________________________________________________________ Table III-6. CBCS Allowable Calls __________________________________________________________________ Calling Called Subscriber Subscriber Approved DNVT or Loop Analog DNVT DSVT DSVT DSVT R NS P 1/ P R E __________________________________________________________________ Approved Yes No Yes Yes Yes No Loop R DNVT or Analog No Yes Yes Yes No No NS NSWT 2/ NSWT 2/ DNVT Yes Yes Yes Yes Yes 4/ P 1/ NSWT 2/ 3/ DNVT Yes No Yes Yes Yes No R DSVT Yes Yes Yes Yes Yes No P NSWT 2/ DSVT Yes No Yes Yes Yes Yes R DSVT No No 4/ Yes Yes Yes E _________ 1/ At CBCS marked PDS=Y. At PDS=N switch, reverts to NS and always receives NSWT. Calls that originate and terminate at PDS=Y switches but tandem through PDS=N switches are allowable as long as the PDS=N switches are protected IAW all of the provisions of paragraph 7. Chapter I. If those switches cannot be protected as specified, routing restrictions must be imposed to prevent those calls from occurring. 2/ NSWT is only applied at the P terminal. 3/ NSWT may be provided to both terminals if the connecting path contains nonsecure trunks. 4/ No for voice calls, Yes for data-initiated calls. Applies if DNVT at PDS=Y and DSVT is at PDS=N, for traffic at SECRET level or below. Legend: Secure Call Privilege R = Required NS = Nonsecure P = Preferred E = End-to-End NSWT = Nonecure Warning Tone __________________________________________________________________ 13. Dial-Up Message Switch Connectivity. See CJCSM 6231.03A for database entries for this service. a. CBCSs. AN/UGC-144s can be configured for message switch access through an AN/TTC-39(). The AN/UGC-144 is used in conjunction with a DSVT in this application. The DSVT must be properly classmarked for this application (including MS COMPATIBLE = Y on ATS screen and security classmark E). (The message switch will reject a call that is nonsecure.) A link between the CS and the AN/TYC-39 must also be properly established. MSRVs and MSNVs for this link are assigned using the AVL command. The MS matrix locations (BS-LA) are required for these entries. Also, CSs are normally certified for SECRET operation and generate SECRET keys. A waiver is in effect to permit TOP SECRET calls to the MS using SECRET key, providing physical safeguards for TOP SECRET are met (see Chapter I). This waiver applies only to calls from a DSVT. In addition to calls through a DSVT, CBCS switches classmarked PDS=Y permit calls initiated in data mode through a SECURITY PREFERRED DNVT. These calls are limited to SECRET traffic. b. AN/TTC-42. No specially named keys are used for this application. Calls through a DNVT are not permitted. 14. Point-to-Point Operation (DSVT-to-DSVT). The DSVT can be operated point-to-point with another DSVT without the CS. This is the sole user mode of operation and must be internally strapped for Mode 2. An internal jumper is provided on the control logic (E-EUL) printed wiring assembly (PWA) for this function. For Mode 2 operation, the jumper must be connected between jacks A4J2 and A4J3. In the sole user encrypted mode of operation two DSVTs are connected back-to-back via transmission equipment. Both keypads are disabled and signaling is accomplished automatically. When the calling DSVT goes offhook, the called DSVT rings. Secure operation can begin when the called DSVT goes offhook. The sole user mode of operation does not provide a plain text mode. When the DSVTs are operated in the sole user mode, the cryptoperiod for the U- and X-key is the same as that for a subscriber connected to the CSS. For the U-key, the cryptoperiod is 1 month or the length of the mission, whichever is less. The cryptoperiod for the X-key is 1 week or the length of the mission, whichever is less. However, the DSVTs can be rekeyed to change the X-key, through the Remote Cooperative Rekeying process. Another DSVT feature is the capability to manually send a new key from one end of the DSVT link to the distant link using a KYX-15/DSVT combination. This is called Manual Cooperative Variable Transfer and can be applied to switched or nonswitched DSVTs after they have established secure end- to-end communications. To support missions up to 3 months, only the rekeying feature is needed. Specific procedures for this operation are contained in Appendix B. 15. STU-III Operation in Tactical Networks. Several certified interfaces are available to connect STU-IIIs through tactical CSs to the Defense Switched Network (DSN) or commercial networks. Information about these interfaces is contained in CJCSM 6231.02A. Interfaces using STU-III variants releasable to allies have also been certified. Units taking STU-IIIs are using the keys used with the instruments at the home station. There are not yet any approved or validated key management, key distribution, or other COMSEC procedures specifically intended for STU-III operation in a JTF. Should such procedures be developed, applicable information will be placed in this document. Procedures governing the COMSEC aspects of STU-III operation which are used in garrison also apply in a JTF. The next generation of secure terminals, STE, which should eliminate the requirement for the STU-III in tactical theaters, is now under development. The STE is described in Appendix E. A transitional terminal, the Motorola Multi-Media Terminal (MMT)/DNVT has been developed and fielded for use at tactical switches prior to the introduction of the STE. 16. Operation of the Motorola MMT/DNVT Subscriber Terminal in Tactical Switches. The MMT/DNVT is a transitional, limited functional replacement for the STU-III at tactical switches. It consists of two major components, SECTEL 1500 STU-III terminal, which can operate in the secure analog (STU-III) mode at 2,400, 4,800, or 9,600 bps, plus a DNVT adaptor "wedge" attachment to provide DNVT signaling when connected to a tactical switch. When connected to a tactical switch, it is treated by that switch as a DNVT. When communicating with a DNVT or DSVT in plain text (unencrypted) mode its signaling and voice digitization at 16 kbps is identical to a DNVT. When connected to a STU-III on the public switched telephone network (PSTN) or DSN, the MMT/DNVT subscriber dials to a tactical interworking function (IWF), an ancillary device that provides a gateway that converts the MMT/DNVT's digital signal to an analog message compatible with either the PSTN or DSN. The MMT/DNVT uses a proprietary BLACK digital interface (BDI) mode for communications through the the DNVT adaptor or to digital RF facilities. It is dual-homed so it can be attached simultaneously to telephone and RF networks. The MMT can also be attached to the SECTEL Video Docking Unit (VDU) to achieve real-time secure transmission of still or near full-motion video images. It can be upgraded using a 3.5-inch crypto-sealed disk by downloading new software from a PC. 17. Use of LKGs in Circuit Switch Calls. LKGs (KG-82 or KG-112) are used in all circuit switch secure calls between two DSVTs to pass the V-key to each subscriber terminal but do not remain in the circuit during the traffic phase of the call. This paragraph covers cases where LKGs do remain in the circuit for the duration of the call. a. Calls Between non-CBCS Modified Switches (1) For secure calls between two DNVTs where at least one of the subscribers is in a TRI-TAC switch or the call is routed through the TRI-TAC network, two LKGs remain online for the duration of the call, one at each subscriber's switch. For secure calls within MSE no LKGs are used. (2) For secure calls between a DSVT and a DNVT, one LKG remains in the circuit for the duration of the call. On calls within MSE, the LKG that remains online is the one located at the switch nearest the called subscriber. On calls within TRI-TAC, the LKG at the DNVT's parent switch remains online. Whenever an MSE subscriber calls a TRI-TAC subscriber through a gateway (to a different area code), the LKG at the calling party's switch remains online to avoid overuse of LKGs at the gateway switches. If the call is from a DSVT in MSE, an LKG comes online on the MSE side of the gateway and two additional LKGs will remain online on the TRI-TAC side of the circuit, one at the gateway entry switch and one at the DNVT's switch. When a TRI-TAC DNVT calls to an MSE DSVT, the LKG at the DNVT's switch is kept in the circuit. When a TRI-TAC DSVT calls to an MSE DNVT, the LKG at the DNVT's switch stays online. b. Calls Between Switches When at Least One Is a CBCS. The CBCS modification significantly reduces the incidence of calls between area codes, reducing the number of gateway calls between MSE and TRI-TAC switches. Calls routed within the CBCS network follow the LKG rules for calls formerly within the TRI-TAC network described in subparagraph 17a. The only case in which the former MSE rules apply is if the call is made between two MSE subscribers and is never routed outside the local MSE network.
CHAPTER IV MESSAGE SWITCHING NETWORK COMSEC EQUIPMENT AND PROCEDURES 1. Introduction. The JTF backbone message switching network is based upon the AN/TYC-39A. The COMSEC equipment currently used in the AN/TYC-39A MS to interface with subscribers is the LKG TSEC/KG-82. The COMSEC equipment is basically the same as in the AN/TTC-39A() CS. The dif- ference is the control of the COMSEC equipment in the CS as opposed to the MS. In the MS, the commands needed to generate keys, load the HUS, and key and rekey the COMSEC equipment are under operator control. In the CS, these commands are under processor control. At subscriber terminals, the TSEC/KG-84() is used. The TSEC/KG-82 is cryptographically compatible with the TSEC/KG-84() family or another TSEC/KG-82. A fully populated AN/TYC-39A contains a COMSEC equipment facility (CEF) HGF-83/TSEC. The HGF-83 is a rack that provides housing, power distribution, cooling channels, and blowers for the physical and environmental support of the following equipment: 2 KG-83s, 2 HGX-84s, 1 HGX-83, 48 KG-82s, 6 HGX-82s, 3 KG-94/194s, and 1 HGF-91. The HGF-91 is a transition unit that houses the three TEDs. Details on specific equipment and fill devices that can be used with them can be found in Appendix C. a. Autonomous Message Switch (AMS). In support of the joint message switching network requirements, the AN/TYC-39A will be fielded as an AMS. In the TRI-TAC equipment definitions, this is a message switch having the inherent capability to generate, store, and provide keys. b. Message Switching Network. The message switching network, as defined in CJCSM 6231.03A, shows a variety of message processing systems and terminals dedicated to AN/TYC-39A ports. Full period encryption will be employed between the AN/TYC-39A LKG and KG-84()s or KIV-7s associated with the message processors and terminals. The capability also exists for an AN/UGC-144 communications terminal (CT) to access the AN/TYC-39A through a circuit switch. In that configuration, encryption for the CT is provided by a KY-68 DSVT. CTs may be directly connected to the MS using KG-84()s. Trunking between AN/TYC-39A MSs will be encrypted full-period using the LKGs. For an interoperable interface with the ASCs, the designated AUTODIN switches are equipped with KG-84()s; and full-period link encryption between the AN/TYC-39A LKG and AUTODIN KG-84() will be used to support the security requirements for the Mode I terminal interface. In the JTF network, Marine Corps elements employ the AN/MSC-63A, which uses KG-84Cs for full-period encryption with MS LKGs. The AN/MSC-63A contains eight KG-84Cs. It also contains two KWR-46s to decrypt Fleet Broadcast messages. Message processors based on the CGS-100 contain varying numbers of KIV-7s or KG-84()s, and are therefore cryptologically equivalent to terminals using the same devices. More information about the various terminals and message processors directly connected to AN/TYC-39()s is found in CJCSM 6231.03A. A representative portion of a typical JTF MS network is shown in Figure IV-1. ________________________________________________________________ Figure IV-1. Representative Joint Message Switch Network ________________________________________________________________ c. Modes of Operation. As discussed in CJCSM 6231.03A, interfaces between TTY terminals and the MS will usually be configured for Mode I or II operation. (The AN/UGC-144 can be configured to operate in Mode VI.) Trunks between AN/TYC-39s will operate in Mode I using the message control block (MCB) feature, and the AN/TYC-39-AUTODIN access line will use Mode I or Mode VI. d. Performance. The AN/TYC-39A, terminals (Modes I or II) and AUTODIN access line will provide the following functions. (1) Switch detection of out-of-sync and generation of SYNC COMMANDS to the online LKG (Modes I, II, and VI) automatically. (2) Rekeying of a synchronized KG-84() (Modes I, II, and IV). (3) KG-84C detection of out-of-sync condition in the synchronous mode. e. Switch Detection of Out-of-Synchronization. Normally in Mode II operation, the terminal operator must detect an out-of-sync condition by monitoring a printer for garbled text. At a message switch, such as AUTODIN, an out-of-sync condition is detected by monitoring message sequence or an end-of-message sequence without a start-of-message (SOM) sequence. However, the AN/TYC-39A will monitor the data stream on a character-by-character basis to determine an out-of-sync condition. This is done by monitoring the framing characters (start/stop bits) for asynchronous Mode II interface (Type I or Type II lines). The criterion for determining out-of-sync for the Type I or Type II line is 127 receive timing errors (RTEs) while searching for a start-of-message or 10 RTEs in an 84-character block (Mode II is blocked within the message switch). Upon detection of the out-of-sync condition, the message switch will generate commands to the online LKG for a full-duplex start sequence between an LKG and a KG-84() or another LKG. The AN/TYC-39A will also detect an out-of-sync condition while operating synchronously (that is, the AN/TYC-39A Mode I, Type III line interface) This is done by monitoring the idle pattern or block parity associated with the 84-character block. Upon detection of the out-of-sync condition, the AN/TYC-39A will issue a SYNC COMMAND to the online LKG for a full-duplex resynchronization between the LKG and distant KG-84() or LKG. f. Rekeying a Synchronized KG-84(). If the LKG and KG-84() are in cryptographic synchronization, the KG-84() can be rekeyed electronically from the AN/TYC-39A AKDC. However, at the AN/TYC-39A, the rekeying function is under operator control. g. KG-84() Detection of Out-of-Synchronization. The KG-84() can be configured for asynchronous or synchronous operation. For the Type I or Type II line interface, the KG-84() at the TTY terminal will be configured in the full-duplex asynchronous mode (character framed with start/stop bits). The KG-84() in this mode of operation features the capability to monitor out-of-sync and to generate automatic resync. When an out-of-sync condition has been detected (about 19 character intervals searching for missing stop bits), the KG-84() will automatically initiate resync between the KG-84() and LKG. However, when the KG-84() is operating synchronously (no start/stop bits) in Mode I or Mode VI operation, only the KG-84C can detect an out-of-sync condition, the KG-84A cannot. 2. Joint Staff ICP Pair-Wise Unique Key Tape System. The Pair-Wise Unique Key Tape System permits up to 80 MSs and KG-84() equipped ASCs to establish secure connectivity by providing all the keys necessary for cold-start cryptosynchronization in a single canister of key tape. (See Annex B of Appendix D.) 3. KG-83 Certification. Detailed test procedures for certifying the KG-83 with the KT-83 and performing KT-83 self-test are contained in the SAM-70 Maintenance Manual. 4. Assign Keys for the Local Loops. This paragraph provides information needed at the AN/TYC-39A to assign keys within the HUS for the local loops. Specific procedures can be obtained from the operating manuals for the fill device used. A local loop is a terminal that can be initially keyed with electronic keys generated at the AN/TYC-39. The procedures for initializing the HGX-83/TSEC AKDC have a secondary effect of generating 1,024 new keys, which may be distributed to subscribers. These keys must be entered on the key management log as they are requested from the HUS location and implemented. Therefore, when servicing local subscribers, only Command 57 is needed. This command transfers a key from the HUS location to a fill device. The HGX-83 obtains the key from the HUS location specified by address A and loads it into the FILL BUFFER. When requested by the fill device, the HGX-83 transfers the key from the FILL BUFFER to the fill device. The transfer from the Fill Buffer to the fill devices must occur within 7 seconds or the HGX-83 will destroy the contents of the Fill Buffer register. Upon completion of a Command 57 for the U-key and a Command 57 for the X-traffic key, the KG-82 and distant KG-84() can be loaded. During these load procedures the U-key must be stored in HUS location 0-299 and the X-traffic variables must be displaced by 300 locations from the U-key. Therefore, if the U-key is stored in the Y location, then the X-traffic key must be stored in Y + 300. a. LKG and HUS Assignments. The AN/TYC-39A offers four line types and services a variety of TTY terminals operating in Mode I or Mode II. The Mode II TTY terminals will be a combination of ITA #2 (Baudot) and ITA #5 (ASCII). At the message switch, a Type I line equates to Mode II (ITA #2), a Type II line is for the Mode II ASCII TTY terminals, a Type III line is for the Mode I terminals trunking between AN/TYC-39As and the AUTODIN interface, and a Type IV line is for any application in which data adapters are used. To aid in the management of the U- and X-traffic keys within the HUS and for selection of LKGS, LKGs 1-15 will be assigned to the Type I line interface, and LKGs 16-30 will be assigned to the Type II line interface (see Table IV-1). LKGs 31-40 and 46, 47, and 48 will support the Type III line interface. Therefore, HUS locations 0001-0015 and 0301-0315 will support ITA #2 Mode II subscriber terminals (Type I line), and HUS locations 0016-0030 and 0316-0330 will be assigned to the Type II line (ITA #5, Mode II). For the Type III line interfaces in support of subscriber terminals, HUS locations 0031-0037 will be assigned to support Mode I terminals. For Type III line interfaces used on interswitch trunking and the AUTODIN interface, only LKGs will be assigned; HUS locations must be determined from Table IV-1. Therefore, HUS locations 0001-0015 and 0301-0315 will support ITA #2 Mode II subscriber terminals. Table IV-1 outlines the LKG and HUS locations for the various line types. (Type IV lines are not shown. If used, HUS allocations should be rearranged to accommodate them.) Following these rules, HUS locations 0001 and 0301 will be assigned to subscriber #1 (logical line number 01) and the terminal equipment must be a Mode II (ITA #2) type of operation. At the AN/TYC-39A message switch, the Mode II (ITA #2) terminal will be connected to a Type I line interface using LKG #1. HUS locations 0101 and up will be reserved for the Pair-Wise Unique Key Tapes in support of the interswitch trunking and the AUTODIN interface. _____________________________________________________________ Table IV-1. LKG and HUS Allocation _____________________________________________________________ HUS Location X-Traffic Line LTU Red Patch LKG U-Key Key Type _____________________________________________________________ 0 1 1 0001 0301 I 1 2 2 0002 0302 I 2 3 3 0003 0303 I 3 4 4 0004 0304 I 4 5 5 0005 0305 I 5 CONTROL + CHANNEL (OX-54) 6 6 6 0006 0306 I 7 7 7 0007 0306 I 8 8 8 0008 0308 I 9 9 9 0009 0309 I 10 10 10 0010 0310 I 11 CONTROL + CHANNEL (OX-54) 12 1 11 0011 0311 I 13 2 12 0012 0312 I 14 3 13 0013 0313 I 15 4 14 0014 0314 I 16 5 15 0015 0315 I 17 CONTROL + CHANNEL (OX-54) 18 6 16 0016 0316 II 1/ 19 7 17 0017 0317 II 20 8 18 0018 0318 II 21 9 19 0019 0319 II 22 10 20 0020 0320 II 23 CONTROL + CHANNEL (OX-54) 25 1 21 0021 0321 II 26 2 22 0022 0322 II 27 3 23 0023 0323 II 28 4 24 0024 0324 II 29 5 25 0025 0325 II 32 6 26 0026 0326 II 33 7 27 0027 0327 II 34 8 28 0028 0328 II 35 9 29 0029 0329 II 36 10 30 0030 0330 II 38 1 31 0031 0331 III 39 2 32 0032 0332 III 40 3 33 0033 0333 III 41 4 34 0034 0334 III 42 5 35 0035 0335 III 44 6 36 0036 0336 III 45 7 37 0037 0037 III 46 8 38 -- -- TRUNKING 47 9 39 -- -- TRUNKING 48 10 40 -- -- TRUNKING 50 1 41 17 51 2 42 18 TDIG 52 3 43 19 J-1 53 4 44 20 54 5 45 21 55 CONTROL + CHANNEL (OX-54) III 57 6 46 -- -- AUTODIN 58 7 47 -- -- AUTODIN 59 8 48 -- -- AUTODIN 60 9 61 10 62 CONTROL + CHANNEL (OX-54) _________ 1/ The Type II line interface can use diphase modem data at rates 1,200 baud. _____________________________________________________________ b. Fill Device Usage. The AN/CYZ-10 DTD, KYK-13, and KYX-15 fill devices are interchangeable for holding and filling key material. Whenever hard-copy keying material is used, the KOI-18 tape reader must be used. Fill devices are loaded using Command 57. This command requests a key from the HUS location in ADRS A and transfers the key to the fill buffer. The fill buffer is the interface for a keying device and is used to load the electronic devices that will, in turn, manually load the LKG(s) and KG-84()(s). 5. Loading KG-82s and KG-84()s. After the fill device is loaded, the KG-82 and then the remote KG-84() must be loaded with the same U- and X-traffic key. The KG-82 should be set for Position #2, which equates to the redundant sync mode (FCTN Position #2). After the KG-82 is loaded, the corresponding KG-84() can then be loaded. The U- and X-traffic keys will be the same ones loaded into the corresponding KG-82. The KG-84() must be strapped correctly and all switches must be set to support a Type I line interface at the AN/TYC-39A. For details on the technical characteristics for this interface, see CJCSM 6231.03A. 6. Rekeying a KG-84(). An operator at the AN/TYC-39A can rekey a KG-84() via the HGX-83. During the rekeying process, the message switch supervisor may want to inhibit the traffic on the subscriber loop to be rekeyed. Also, before rekeying a loop, the switch operator should load a keying device with the original U- and X-traffic keys. Thus, if rekeying is not successful, the KG-82 can be manually loaded with the U- and X-keys. The KG-84() may also have to be loaded. It is assumed that a keying device with identical U- and X-traffic keys would be at the subscriber location. Also, the KG-82 and KG-84() must be in secure operation before activating the rekeying command. The rekeying command is Command 23. 7. Loading KG-82 to KG-82 (Trunking). Interswitch trunks between AN/TYC-39s will establish cold start crypto initialization using the procedures described in the applicable JSICP LOI (see Appendix D). At each switch, key tape will be pre-positioned and the KOI-18 tape reader must be used. The KOI-18 can be used to load the HUS. However, the KOI-18 cannot be used to load the KG-82 via the HGX-82. Therefore, to reduce the number of steps, the KOI-18 should only be used to load another fill device (KYK-13, KYX-15, or DTD). 8. External Interface (AUTODIN). KG-84()s at AUTODIN switch are loaded using procedures described in the applicable JSICP LOI. It is assumed that the KG-84() is strapped and switches are set to support a Mode I interface as described in CJCSM 6231.03A. 9. Point-to-Point Operation KG-84A to KG-84A. In some deployments, the AN/TYC-39A message switch may not be needed, and only subscriber terminals will be deployed. With these types of scenarios, the KG-84A equipment will be operating point-to-point with other KG-84A/Cs. See MCM-166-91 for joint doctrine for keying KG-84A/C secured point-to-point circuits. This document mandates that OTAR be used to key nearly all KG-84A/C secured point-to-point circuits that are operated by DOD elements. OTAR procedures for these KG-84A/Cs are contained in NAG-16D and are excerpted in Appendix B. If the responsible commander opts not to rekey KG-84A/C circuits by OTAR, a variety of cryptoperiods are authorized, the most common being daily change of TEK or monthly TEK change with daily update. a. OTAR, using quarterly cryptoperiod KEK and manual keying (MK) procedures, is the normal means of replacing KG-84A TEK in point-to-point applications. OTAR TEK should normally be generated by the KG-83 and distributed to the net control station in AN/CYZ-10, KYK-13, or KYX-15 fill devices, but OTAR TEK in tape form may also be used. When operationally feasible, OTAR KEK should also be generated by the KG-83 and distributed to both users in fill devices. Where this procedure is not feasible, OTAR KEK in tape form may be used. Start-up KEK may be used to activate circuits and nets that distribute TEK by OTAR. See NAG-16D. NOTE: Use of the FILL V mode is not authorized. b. If the responsible commander opts not to replace TEK by OTAR, TEK may be generated by the KG-83 and furnished to both stations in fill devices, or tape TEK may be used, provided the affected segments are not used for any other purpose. 10. Message Switch Traffic Flow Security. Normally, trunking between the AN/TYC-39A MSs is Mode I operating at 1,200 baud and is encrypted full period using LKGs. Therefore, all traffic between switches is secured with the LKGs and configured to provide traffic flow security. When TRI-TAC transmission equipment is used, the LKGs will still be employed to perform full-period encryption and provide traffic flow security. Traffic flow security for TRI-TAC digital groups will be achieved by employing TEDs. This is for trunking between a message switch and circuit switch in support of data terminals connected to the circuit switch. These trunks are in support of the Type IV line interface at the message switch and dial-up data subscribers off the circuit switch. 11. Y-Community Traffic. As noted in CJCSM 6231.03A, the joint message switching network comprises a mixture of R- and Y-community subscribers. Procedures required to accredit the AN/TYC-39A MS as an SCI facility (SCIF) are provided in CJCSM 6231.07A. A waiver is in effect to allow TS/SCI CBCS subscribers dial-up access to the AN/TYC-39A. U-keys are issued to these subscribers on tape. Those keys are stored in HUS locations 26 and 27 at the CBCSs that support SCIFs. Specific rules for safeguarding and use of these keys are prescribed as conditions for the waiver. The actual waiver or any implementing directives should be consulted when planning for or using this capability. 12. AN/TYC-39A Reports Classification. Below are security guidelines for the AN/TYC-39A MS and associated automatic reports. a. Classification Authority. SSO, Defense Intelligence Agency (DIA) exercises original security classification authority for the Tactical Defense Special Security Communications System (TDSSCS) and information processed by the AN/TYC-39. Actual routing indicators are not to be associated with activities and geographic locations unless appropriately classified and approved by the original class- ification authority. If necessary, derivative classifica- tion may be used to tentatively classify information pending review by the SSO DIA. All unclassified information will be handled as FOR OFFICIAL USE ONLY. SSO DIA is the point of contact for Freedom of Information releases in cases of appeal to release FOR OFFICIAL USE ONLY information. b. Daily Cumulative Statistics (CUM STATS). Classify CUM STATS CONFIDENTIAL when Y-traffic and circuit status are contained therein. Identify further tributary circuit data for Y-community subscribers by routing indicators and command communication service designators. c. Routing Indicators (RIs). RIs, when associated with unclassified activities or unclassified messages, are unclassified. Classify Y-community RI table and channel parameters CONFIDENTIAL. d. System and Cumulative Statistics (STATS). Classify STATS CONFIDENTIAL. Extracts of R-community statistics are unclassified. e. Printer Printouts. The supervisor, traffic service, and maintenance printer printouts are CONFIDENTIAL. f. Service Messages. Individual service messages are unclassified. g. Transmission Control Code (TCC). Any TCC code with its ID is unclassified. Classify any actual TCC with its associated routing indicator CONFIDENTIAL. However, this combination may be unclassified based on a case-by-case determination. h. Special Access Data. Information stating that an individual is approved for access to SCI or SIOP-ESI is unclassified, FOR OFFICIAL USE ONLY, or CONFIDENTIAL, at the discretion of the originator, depending on the information disclosed and other classification criteria. In any event, classify a listing that reveals the names and job titles of all SCI and/or SIOP-ESI approved personnel of an organization or company not lower than CONFIDENTIAL. i. DSSCS. The term "Defense Special Security Communications System (DSSCS)" is unclassified when unaccompanied by other descriptive data. j. Magnetic Storage Devices. Classify long- and short-history magnetic tapes, disks, and memory storage devices TOP SECRET/SIOP-ESI/Contains CODEWORD/Sensitive Compartmented Information/US ONLY. Classify other magnetic tapes, disks, and memory devices (such as program storage media) in accordance with the classification of the data or information they contain. k. Y RIs. One or more Y-community routing indicators are unclassified; RI table and channel parameters are CONFIDENTIAL. l. Use of NOFORN or US ONLY. DOD 5200.1-R authorizes the marking of "NOFORN" as a designator for "Not Releasable to Foreign Nationals" in electrically transmitted messages and automated data processing products that include the appropriate documents covered in this publication. However, the NOFORN and REL TO designators are being phased out, to be replaced by US ONLY and US and (designated nation) ONLY. The new terms are already required on hard-copy communications. NOFORN and REL TO will continue in use on electronic communications until worldwide systems are modified to accept the new designators.
CHAPTER V AN/TSQ-111 COMMUNICATIONS NODAL CONTROL ELEMENT AND TRANSMISSION SYSTEM COMSEC EQUIPMENT AND PROCEDURES 1. Introduction. This chapter describes COMSEC equipment used within the AN/TSQ-111 CNCE and at the transmission assemblages to support DOW functions and DTGs egressing from the CNCE. It provides information to enable system planners to determine needed COMSEC equipment and keys to support DOWs and COMSEC within the transmission network. 2. General. COMSEC equipment developed to support CNCE security requirements is the same as previously described for the MS and the CS. The COMSEC equipment in the CS is under processor control, whereas the COMSEC equipment in the MS and the CNCE is under operator control. The difference between the operation at the AN/TYC-39A MS and the CNCE is the out-of-sync (OOS) detection scheme and KG-84() usage. Within the AN/TYC-39A, OOS detection is done by the switch processor; at the CNCE, OOS detection is provided externally from the CNCE processor. Also, OOS detection is only provided at one end of the link. In the message switch network, all subscriber terminals are connected directly to the MS, and KG-84()s at subscriber terminals are assigned to an LKG within the AN/TYC-39. Most KG-84()s used to support CNCE/DOW functions must operate KG-84()-to-KG-84(). Thus, KG-84()s operating with the AN/TYC-39A can be rekeyed automatically, but the majority of KG-84()s used with the CNCE must be manually rekeyed. a. Equipment Configuration. For the CNCE, a fully populated CEF consists of 2 HGF-92s, 2 HGX-82s, 16 KG-82s, 1 HGX-83, 1 KG-83, 4 HGF-94s, and 12 KG-94 TEDS. Table V-1 lists the TRI-TAC and non-TRI-TAC COMSEC equipment associated with a CNCE. _____________________________________________________________ Table V-1. AN/TSQ-111 COMSEC Items _____________________________________________________________ COMSEC Eq Qty Spare Total Remarks _____________________________________________________________ HGF-92 2 0 2 HGF-94 4 0 4 HGX-82 2 0 2 HGX-83 1 1 1 KG-94 12 1 13 KG-82 16 1 17 KG-83 1 0 2 KY-58 1 0 1 Non-TRI-TAC KY-68 1 0 1 KY-75 1 0 1 Non-TRI-TAC KOI-18 1/ 1 0 1 Tape Reader Fill Cable 3 0 3 KYK-13 1/ 5 0 5 Electronic Transfer Device KYX-15 1/ 1 0 1 Net Control Device _________ 1/ The AN/CYZ-10 DTD will replace these devices. DTDs will be used based on availability until they are fully fielded. The utility of DTDs will be limited until the JKMS is fully implemented. _____________________________________________________________ b. System Description. The 16 KG-82s in the CNCE are used to secure DOWs which can be telemetry, teletype, or links from one CNCE processor to another CNCE processor. The telemetry system provides the CNCE controller with real-time status information on cable systems, RF transmission systems, multiplexers, modems, and AN/TSQ-146 multiplexer terminals. This status information and the results of 2-kbps loop-back tests made through the network are used for network quality assessment and fault isolation. Telemetry data is generated at 15-characters per second and transmitted to the CNCE at a 75-bps, 150-bps, or 2-kbps transmission rate. Within the CNCE, 75-bps or 150-bps data can be entered directly into the communication interface controller (CIC) to be processed as independent status data for each assemblage or can be combined at the CNCE and then entered at a 2-kbps transmission rate. If entered at the 2-kbps transmission rate, the combined telemetry data is decombined within the CIC and processed as independent status data for each assemblage. The last approach would reduce the number of ports used at the CIC. If the assemblages are in series, the combined telemetry data enters the CNCE at the 2-kbps transmission rate and is entered directly into the CIC and decombined as previously explained. This configuration reduces the number of LKGs needed at the CNCE. Figure V-1 depicts the Orderwire Control Unit (OCU), which would be located at one of the assemblages interfaced directly with the equivalent equipment at the CNCE. Only the telemetry combiner (TC) and telemetry decombiner (TD) functions of the OCU are shown. Also provided in Figure V-1 are the communication equipment support element (CESE) telemetry data requirements and equipment parameters. Rules for DOW operation in this configuration are shown in Table V-2. KG-84() strapping options and switch settings for DOW operation are shown in Appendix F. ____________________________________________________________________ Figure V-1. Data Orderwire to AN/TSQ-111 ____________________________________________________________________ _____________________________________________________________ Table V-2. DOW Rules _____________________________________________________________ 1. KG-84() associated with the TC operates in the SLAVE CLOCK MODE (Position #2). This should be KG-84() #2. 2. KG-84() associated with the TD operates in the MASTER CLOCK MODE (Position #1). This should be KG-84() #1. 3. TD monitors for loss of sync and issues a SYNC CM to KG-84() #1. 4. Loss of sync is detected at only one end of the circuit for KG-84()s operating point-to-point. 5. Loss of sync is detected at the CNCE/OOS for KG-84()s directly connected to LKGs. For this operation, loss of sync is only detected at one end of the circuit. _____________________________________________________________ 3. COMSEC Controller. The CNCE COMSEC controller monitors the RED side of the 16 LKGs to determine an OOS condition for the DOWs. When an OOS condition is detected, the COMSEC controller generates codewords to the HGX-82, which initiates and verifies synchronization for the affected LKG. The COMSEC controller can monitor for loss-of-sync in any of 12 possible data formats as outlined in CJCSM 6231.06. The COMSEC Controller performs many functions and is structured as depicted in Figure V-1, which includes the sync detection module (SDM) and the resync control module (RCM). a. Sync Detection Module. The SDM scans each plain text received line of the 16 LKGs to determine loss of sync. The SDM sets time limits, controls all timing and sequences, generates request messages to the RCM, and receives resync achieved messages from the RCM. When an OOS condition is detected by the SDM for a given LKG, a resync request is transmitted to the RCM. During the LKG sync phase, the SDM sets the 4.1 seconds time limit for the sync acquisition. The count is ended when a resync achieved message is received from the RCM or when the counter has timed-out at the end of 4.1 seconds. If the LKG remains OOS, another resync request is sent to the RCM and the time-out counter is again activated. After three attempts to resync a given LKG, an OOS condition is declared by the SDM and a channel status alarm is activated for the affected LKG. b. Resync Control Module. The RCM handshakes with the HGX-82s during the LKG synchronization phase. The RCM generates the sync command that is sent to the LKG via the HGX-82 and monitors the status of the BUSY indicator (FULL OPERATE) for a successful sync cycle between the LKG and the KG-84(). A successful sync cycle is shown when the BUSY status indicator goes from the ON to the OFF and back to the ON state. When this occurs, the RCM generates a RESYNC ACKNOWLEDGE message to the SDM to indicate that resync has been achieved. 4. Key Management. The CNCE is configured with an electronic key generator (KG-83), and keys generated by it or read from a KOI-18 tape reader at the CNCE must be controlled. a. Responsibilities. The CNCE controller is responsible for the control and management of all keys generated at the CNCE. b. Accountability. All keys in electronic form will be accounted for in the key management log. A key management log will be maintained wherever keys are generated and stored. The CNCE controller will maintain a key management log that records all keys generated at the CNCE. c. Supersession. The CNCE controller is responsible for the timely and orderly supersession of all keys generated at the CNCE. The controller should coordinate the distribution of keys in sufficient time to allow changes before the end of the cryptoperiod. Whenever a key is superseded, enter the supersession DTG in the key management log. 5. Key Generation and HUS Assignment. Specific procedures for generating keys are contained in Appendix B. When the HUS is loaded with keys, the CNCE has the classification of the orderwires and transmission links that must be protected. For the CNCE application, the CNCE classification would be SECRET. CNCE rules are: a. During key assignment, the U-key must be stored in HUS location 0-299 and the X-key must be displaced by 300 locations for the U-key. Therefore, if the U-key is stored in the Y location, then the X-key must be stored in Y + 300. b. A transfer from the fill buffer to the keying device must occur within 7 seconds or the HGX-83 will destroy the contents of the fill buffer register. To support DOWs, HUS locations 0001-0016 have been reserved for the KEK "U" and 0301-0316 are for the TEK "X" as shown in Table V-3. ___________________________________________________________ Table V-3. LKG and HUS Allocation ___________________________________________________________ LKG KEK "U" TEK "X" Station ID Notes ___________________________________________________________ 1 0001 0301 2 0002 0302 3 0003 0303 4 0004 0304 5 0005 0305 6 0006 0306 7 0007 0307 8 0008 0308 9 0009 0309 10 0010 0310 11 0011 0311 12 0012 0312 13 0013 0313 14 0014 0314 15 0015 0315 16 0016 0316 0017 0317 Other CNCE Functions VINSON DSVT 0032 0332 0333 TED Seed Keys ___________________________________________________________ 6. DOW Point-to-Point Operation (KG-84()-to-KG-84()). Three separate orderwire assemblages are decombined within the CIC. However, two orderwire assemblages operate on a link basis, and the encryption scheme is independent of CNCE COMSEC operation. That is, the KG-84()s do not connect to LKGs within the CNCE. Thus, the AN/TSQ-146 and distant AN/TRC-170 orderwire assemblages are combined and encrypted or decrypted and decombined on a link basis. The KG-84()s operate point-to-point with another KG-84(). For this type of operation, the distant AN/TRC-170 could be up to 150 to 175 miles from the AN/TRC-170 collocated with the CNCE. When the KG-84() is operated point-to-point with another KG-84() on a full-period circuit, the X-traffic key can be extended to a 1-month cryptoperiod with daily updates. When the UPDATE function is activated, a coordinated procedure between KG-84() operators is required. During this procedure, the TEK "X" is replaced with a modified TEK "X." A KEK "U" is not used with the UPDATE function. However, when a KG-84() is initialized from a cold start, the LDU register must be initialized. These procedures are used when no remote rekeying is done. 7. Manual Cooperative Variable Transfer (DSVT-to-DSVT). These procedures provide manual transfer of keys from one CNCE to another CNCE. TEDs are initially keyed using a unique segment of the ICP key tape(s). This segment is identified as the TED Cold Start key and is used only for cold start initialization. After secure connectivity between CNCEs or AN/TRC-170s is established, the controlling CNCE will electronically generate TED Seed keys (see Table V-3), which must be electronically transferred between the CNCEs. For this application, DSVT MCVT procedures will be implemented. One DSVT at the CNCE will become a subscriber off the AN/TTC-39(). At the distant CNCE, one of its DSVTs will also be connected to its collocated CS. Thus, keys for the DSVTs will be generated by collocated AN/TTC-39()s. In the MCVT operation, the transferred key does not alter X- or U-key contents of the DSVTs partici- pating in the operation. The DSVTs do not use their resident U-key in the transfer, but use a rekeying key stored in each of the KYX-15s or DTDs. Both KYX-15s must contain the same rekeying key, and the sending KYX-15 (controlling CNCE) must also contain the TED Seed key(s) to be transferred. Electronically generated keys used as TED Seed keys on TED links must be destroyed (fill device or AKDC location zeroized) immediately after establishing synchronization. To implement MCVT procedures, the TED protected MUX group at the CNCE or AN/TRC-170 must be operational. For this scenario, the TED at the CNCE will be used. The DSVT at the controlling CNCE will be assigned as a subscriber off the CS. At the distant CNCE, a DSVT will also be assigned as a subscriber off its collocated CS. Thus, secure communications can be established between CNCEs using DSVTs and switch generated keys. The next step is to load the KYX-15 at the controlling CNCE with the rekeying key and TED Seed keys. TED Seed keys for this operation will be transferred from the AKDC to the fill device (Table V-3). The TED Seed keys can also be generated directly from the KG-83 to the fill device. The latter approach reduces the number of required steps. At the distant CNCE, the KYX-15 must also be loaded with the identical rekeying key. At the completion of the above steps, MCVT procedures can be activated. After completion of the TED Seed key(s) transfer, the TED Cold Start key that was used to initialize the TEDs must be replaced with the TED Seed key. To implement MCVT procedures requires the following steps: a. Activate TEDs with the TED Cold Start key. b. Load DSVTs and assign directory numbers at both CNCEs. c. Load the KYX-15 or DTD at the controlling CNCE with the identified rekeying key using the KOI-18. d. Load the KYX-15 or DTD at the controlling CNCE with TED Seed keys using HGX-83 Command 57. e. Use MCVT-DSVT procedures to transfer TED Seed key(s). See NAG-16D/TSEC for more information about MCVT procedures. f. Replace the TED Cold Start key with the TED Seed key. g. After TED synchronization in the TED Seed key, zeroize the KYX-15(s) or DTDs and HUS storage location(s) (Command 05) for the electronically generated Seed key that is operational. (In the MSE, the HUS storage locations for operational TED keys are not erased.) 8. Transmission Systems COMSEC Procedures. To meet tactical security requirements, TEDs have been implemented within the AN/TTC-39(), ULCSs, MSE, AN/TYC-39A, AN/TSQ-111, AN/TSQ-146, AN/TRC-170, AN/TRC-173, and the AN/TSC-85B, AN/TSC-93B, AN/TSC-94A, AN/TSC-100A satellite terminals. This equipment can be deployed in various configurations to provide the needed security. Table V-4 lists the COMSEC complement of various types of transmission equipment. Certainly, it is not necessary to encrypt and decrypt on a link basis. A representative joint transmission network showing a possible employment of TEDs is shown in Figure V-2. Listed below are some guidelines for TED usage when the above equipment is deployed. __________________________________________________________________ Table V-4. Transmission Equipment COMSEC Complement __________________________________________________________________ Equipment TED KG-84() VINSON __________________________________________________________________ AN/TSC-94A(V) 2 2 1 AN/TSC-94A(V)2 1 1 1 AN/TSC-100A(V)1 6 1 2 AN/TSC-100A(V)2 5 1 2 AN/TSC-85B 4 1 AN/TSC-93B 2 1/ 1 AN/TSQ-146(V)1/2 4 3 2/ 2 AN/TSQ-146(V)3 4 3 2/ 1 AN/TRC-170 2 2 1 AN/TRC-173 3/ 2 1 1 AN/TRC-174 3/ 2 1 AN/TRC-175 3/ 1 1 AN/MRC-142 2 1 AN/TRC-138() 3/ 1 AN/TRC-190(V) 1 AN/TRC-198(V)1 1 _________ 1/ JCSE AN/TSC-93Bs have 3. 2/ one is a spare. 1/ Also has a DSVT. __________________________________________________________________ __________________________________________________________________ Figure V-2. Representative Joint Transmission Network __________________________________________________________________ a. If traffic flows between AN/TTC-39()s via CNCEs and AN/TRC-170s, bulk encrypt at the AN/TRC-170s. b. If radio links are remoted via a TSSR or the AN/TAC-1, bulk encrypt at the CNCE. If the AN/TSQ-146 is being used instead of the CNCE, bulk encrypt at the AN/TSQ-146 or at the ASOC. c. The KG-94()/-194() TED has a number of internal strapping options for various applications. Strapping options for common applications are contained in Appendix G.
CHAPTER VI DATA NETWORK SECURITY 1. General. As a JTF builds up, a tactical wide area network (WAN) is established. The JTF WAN is composed of Internet protocol (IP) routers (IPRs) and packet switch nodes (PSNs) with protocol gateways to automatically route traffic to and from local and remote subscriber local area networks (LANs). Tactical-to-strategic connectivity is achieved through Integrated Tactical-Strategic Data Networking (ITSDN) gateways. The strategic networks to which tactical users must be connected are the sensitive but unclassified IPR network (NIPRNET), the SECRET IPR network (SIPRNET), and the Joint Worldwide Intelligence Communi- cations System (JWICS). (JWICS is not accessible via ITSDN at this time). These networks handle traffic at different levels of security. In the JTF WAN, data from all three networks may traverse the same transmission backbone. This could be accomplished through the use of the Network Encryption System (NES) inline network encryptor (INE). Specific security information about the NES is found in Appendix H. More information about the network may be found in CJCSM 6231.07A, Chapter VIII. 2. Security Policy Considerations for JTF to IP Network Connectivity a. Deployed JTF networks can access strategic IP networks at the sensitive but unclassified (SBU), SECRET, and SCI levels using the NIPRNET, SIPRNET, and JWICS respectively. The connection policies are outlined below. b. In support of the Defense Information Infrastructure (DII), DISA is responsible for establishing the NIPRNET and SIPRNET connection requirements, accreditation procedures, and the subsequent publication of such policies to the commands, Services, and Defense agencies. For JWICS, DIA will provide cognizance over SCI connections on a case-by- case basis until the process to standardize SCI connectivity via STEP sites has matured. 3. NIPRNET Policy. The security connection policy for the NIPRNET is currently under DISA internal review. 4. SIPRNET Policy. For potential SIPRNET subscribers desiring connectivity, the following interim network connection requirements must be met before a new connection is granted. These interim procedures are considered valid until the overall DII connection requirements are promulgated by DISA. a. Contact the SIPRNET Program Office. All CONUS customers desiring a direct connection to the SIPRNET must first contact the SIPRNET Program Management office, DISA/D3113, at COMM (703) 735-3238/8290/8041, or DSN 653- 8290/3238/8041. European customers contact DISA-EUR, at DSN (314) 430-8457. Pacific customers contact DISA-PAC, at DSN (315) 456-2858. b. Prepare System Security Package. For DISA to approve SIPRNET connectivity, all automated information systems (AIS) currently connected or desiring connectivity must submit the following documents to the Defense Information Systems Agency, Attn: D3113, 11440 Isaac Newton Square, Reston, VA 22090-5087. (1) Accreditation Letter. Signed by the cognizant Designated Approval Authority (DAA) for the network or system requiring connection to SIPRNET. If the AIS is not accredited, indicate if system is operating under an interim approval to operate (IATO). The SIPRNET connection will not be granted unless accreditation or IATO is provided. (2) Interim Approval to Operate. If an IATO has been granted, advise DISA of all significant risks the system is currently operating under. Significant risks include lack of identification and proper access controls, lack of audit function, unprotected connections to other networks which are not approved to connect to SIPRNET, unapproved connections to other networks. (3) AIS Concept of Operations and Security Policy or Equivalent Documentation. These security documents will describe how security requirements have been implemented in the environment. Further, these documents will identify data types, classification level of date, system owner, and designated approving authority. (4) System Connectivity Diagram. This diagram will identify all AIS connections, both front and backside, to include any connections to other gateways directly or indirectly connected to other networks. Diagrams will include the applicable IP address. (5) Foreign Connections. The SIPRNET is a SECRET, SYSTEM HIGH, US ONLY, network. However, connections to foreign government agencies may exist. All foreign connections to the SIPRNET and applications to be used must first be validated by the Joint Staff under the provisions of CJCSI 6740.01 and CJCSI 6211.02A and approved in accordance with this policy. All foreign connections will require the installation of a high assurance guard device or an end-to-end encryption device. Both types of devices will be under US control (procured, operated, maintained, and configured by the US sponsoring activity) and used to prevent unauthorized or accidental disclosure of classified, US ONLY information on the SIPRNET. (6) Acknowledgment of Periodic Monitoring and Vulnerability Assessments. All connection requests must provide the following statement: "We acknowledge and consent to DISA conducting an initial vulnerability assessment and periodic unannounced vulnerability assessments on the connected host systems to determine the security features in place to protect against unauthorized access or attack." 5. Application of SIPRNET Policy. DISA will review the above documentation and make a connection approval determination. The Joint Staff will validate and approve all foreign connections. After reviewing the documentation and ensuring initial security concerns are satisfied, DISA will issue interim approval to connect to the SIPRNET for 180 days in most cases. The final approval will be provided based on successful completion of a vulnerability assessment and satisfaction of security documentation. SIPRNET requests for service and feeder TSRs can be submitted concurrent with the above documentation; however, connection activation will not occur until an interim connection approval is granted in writing. 6. SIPRNET Access Limitations. Failure to comply with these requirements may result in service disruption. DISA reserves the right to deny or discontinue SIPRNET access to any network or system demonstrating behavior that increases risk to the SIPRNET infrastructure and SIPRNET subscribers. 7. JWICS Policy. At the request of the J-2 DIA, JWICS can provide JTF components SCI system-high access on a case-by-case, contingency basis. In general, the following preplanning considerations and security constraints need to be addressed prior to a connection request: a. Preplanning Considerations. Every JTF operation requires planning for the following two categories of JTF intelligence communications requirements: (1) For the exchange of intelligence information within a deployed JTF (intra-JTF exchanges). (2) For the exchange of intelligence information between the deployed JTF and organizations external to the JTF (external JTF exchanges). b. Information System and Communication Services Constraints. In the past, planning support for intelligence information flows for current or near-term operations has been constrained by the limited capabilities of existing intelligence information systems to communicate over data networks. Therefore, DIA methodology for long-term planning stresses that all intelligence information systems will be able to communicate over data networks and that information requirements can be combined to determine aggregate requirements. However, current constraints dictate that intelligence data that supports a JTF will be classified at the SCI and collateral levels (normally SECRET), with separate communication networks necessary to support these different classification levels. c. Future Options. Packet encryption techniques that encrypt packets with a security level that is different from the transporting network may offer a solution. Data with multiple security levels can then be transported over one communication system. Several successful initiatives have demonstrated this capability. DIA methodology is designed to incorporate such advances as they mature. d. Current Policy. Until efforts to achieve end-to-end flows of intelligence information from the national and theater echelons down to the echelons within the deployed JTF have matured, the DIA methodology specifies that intelligence communications requirements will be specified and implemented separately for each security level. e. Summary. The DIA connection methodology uses a framework developed for long-range planning for the intelligence support area. The key component of the methodology is a functional model for intelligence that identifies the intelligence functions required to support JTF operational requirements and determines the intelligence information flows that support the functions. Advances in packet encryption techniques may reduce the current constraints on the communications planner. Prior to addressing specific security communications service constraints, contact the DIA Deputy Directorate for Crisis Operations (J2O) office at (703) 614-5555 to obtain the JWICS contingency deployment policy framework document that outlines the full preplanning methodology.

Transcription and HTML by Cryptome.