|
|
|
This file is available on a Cryptome DVD offered by
Cryptome. Donate $25 for a DVD of the Cryptome
10-year archives of 35,000 files from June 1996 to June 2006 (~3.5 GB). Click
Paypal or mail check/MO made out to John Young, 251 West 89th Street, New
York, NY 10024. Archives include all files of cryptome.org, cryptome2.org,
jya.com, cartome.org, eyeball-series.org and iraq-kill-maim.org. Cryptome
offers with the Cryptome DVD an INSCOM DVD of about 18,000 pages of
counter-intelligence dossiers declassified by the US Army Information and
Security Command, dating from 1945 to 1985. No additional contribution required
-- $25 for both. The DVDs will be sent anywhere worldwide without extra
cost. |
22 November 2006
Related: "On the Power of Simple Branch Prediction Analysis" (Cryptanalysis
attack on RSA):
http://cryptome.org/sbpa/sbpa.htm
http://patft.uspto.gov/netacgi/nph-Parser?Sect1=PTO2&Sect2=HITOFF&p=1&u=%2Fnetahtml%2FPTO%2Fsearch-bool.html&r=1&f=G&l=50&co1=AND&d=PTXT&s1=%22branch+prediction+analysis%22&OS=
| United States Patent |
5,659,752 |
| Heisch , et al. |
August 19, 1997 |
System and method for improving branch prediction in compiled
program code
Abstract
A method and system for optimizing branch prediction in an executable computer
program compiled for execution on a pipelined processor that employs branch
prediction. The source program is compiled and, in one embodiment, instrumented
to collect branch selection statistics. The compiled program is run and
statistics collected using the instrumentation or a standard trace program.
The branch statistics are used to modify the executable program to cause
branch prediction to be correct a majority of the time for the workload against
which the program was run. In a computer system having a branch prediction
bit, that bit is set or cleared to cause correct branch prediction a majority
of the time.
| Inventors: |
Heisch; Randall Ray (Georgetown, TX),
Saiyed; Sohel Riazuddin (Austin, TX) |
| Assignee: |
International Business Machines Corporation
(Armonk, NY)
|
| Appl. No.: |
08/497,303 |
| Filed: |
June 30, 1995 |
| Current U.S. Class: |
717/158 ; 712/239; 714/35;
714/38 |
| Field of Search: |
395/700,704,709,183.11,183.14,586 |
References Cited
[Referenced
By]
U.S. Patent Documents
Other References
IBM Technical Disclosure Bulletin, vol. 36, No. 08, Aug. 1993, p. 241, "Adaptive
Branch Prediction".. |
Primary Examiner: Kriess; Kevin A.
Assistant Examiner: Chaki; Kakali
Attorney, Agent or Firm: Walker; Mark S.
Claims
We claim:
1. A method for optimizing conditional branch prediction in a computer program
running on a computer processor having branch prediction logic, the computer
program including a plurality of conditional branches, the method comprising
the steps of:
compiling the computer program to create an executable program;
executing the executable program on the computer processor using a workload;
collecting statistics on the frequency of conditional branch being taken
or not taken for each of the plurality of conditional branches;
calculating for each conditional branch a percent of branches correctly predicted
by said branch prediction logic;
modifying the executable program by setting a branch prediction indicator
to reverse the branch prediction logic selection of each conditional branch
for which said branch prediction logic incorrectly predicted the branch a
majority of the time.
2. A computer program product for use with a compiler for optimizing conditional
branch prediction, said computer program product comprising:
a computer usable medium having computer readable program code means embodied
in said medium for causing said computer to optimize branch prediction in
a computer program, said computer program product having:
computer readable program code means for causing a computer to compile the
program;
computer readable program code means for causing a computer to execute the
compiled program and collect statistics on the percent of time each of said
plurality of conditional branches is taken or not taken;
computer readable program code means for causing a computer to analyze the
collected statistics and determine an optimal branch prediction for each
of said plurality of conditional branches;
computer readable program code means for causing a computer to determine,
for each conditional branch, whether a hardware branch prediction logic correctly
predicted that branch a majority of the time;
computer readable program code means for causing a computer to modify said
executable program by setting a branch prediction indicator to reverse the
hardware branch prediction of individual conditional branches so that branches
are correctly predicted based on said optimal branch prediction.
3. A system for optimizing branch prediction in a program having a plurality
of conditional branches and operating on a pipelined computer system having
branch prediction logic, the system comprising:
means for compiling the program to create an executable program;
means for executing the executable program and collecting statistics on the
percent of time each of said plurality of conditional branches is taken or
not taken;
means for comparing the collected statistics and determining whether a hardware
branch prediction for each of said plurality of conditional branches is correct
a majority of the time;
means for modifying said executable program by setting a branch prediction
indicator to reverse said branch prediction logic for those conditional branches
not correctly predicted by said hardware branch prediction.
Description
BACKGROUND OF THE INVENTION
1. Field of the Invention
The present invention relates to improvements in compiler technology. In
particular, the present invention relates to improvements in a source code
compiler for a pipelined data processing system that predicts branch instruction
results and uses that prediction to increase system performance. Still more
particularly, the present invention relates to a system for using execution
profile data from a test compilation to provide feedback to the compiler
to optimize the final executable code based on that profile data.
2. Background and Related Art
Compilation is the process of transforming program source code written in
a human intelligible language into a form executable by a data processing
system. Compilation transforms each language statement into one or more machine
language statements. Typically, the compiler will perform the transformation
in phases or passes. The first pass of the compiler typically transforms
the source code into an intermediate form. The second pass typically performs
code optimization and then generates the final executable machine language
for the target platform.
Code optimization is a well developed area of compiler technology. Code
optimization includes attempts to improve the performance of program execution
by rearranging the code so that it executes faster but with the same functional
operation. An example, is optimization by bringing the instructions from
a subroutine into the main body of code to avoid the overhead of subroutine
call and return.
Pipelined data processing systems have been developed to increase system
throughput. A pipelined system breaks the interpretation and execution of
an instruction into sequences that can be executed in parallel. The sequence
of Instruction Fetch, Instruction Decode and Instruction Execute is performed
in parallel so that an instruction is executed, ideally, each machine cycle.
The Instruction Decode step places the decoded instruction on an instruction
queue. The Instruction Execution unit then takes the next instruction from
the instruction queue for execution.
Pipelined processing offers performance improvements only if the instruction
stream is not interrupted, i.e. the instruction pipeline remains full and
no pipeline stalls or "bubbles" are introduced. The instruction stream can
be interrupted when the program calls for the execution of an instruction
out of sequence. This occurs, for example, when a conditional branch instruction
is encountered. Program code may have the form:
If x is less than or equal to 1 the next statement "y=1" is skipped and execution
branches to the statement "y=0." If the machine instructions for assigning
1 to y have been fetched and decoded, these instructions must be purged from
the instruction queue and the execution unit must wait until the instructions
for setting y=0 reach the top of the queue. This waiting results in several
lost machine cycles and a corresponding reduction in system throughput.
Conditional branches can induce pipeline stalls due to the latency in determining
the outcome of the branch condition. The processor typically employs some
level of branch prediction in an attempt to keep the pipeline full by selecting
what is hopefully the correct path.
The impact of conditional branches is significant because most program code
contains a significant number of branches. Very little useful code is executed
sequentially from top to bottom. The performance of a system can be improved
by improved branch prediction.
Branch prediction attempts to predict which set of instructions will be executed
after a branch: the "branch taken" set; or the "branch not taken" set. If
the prediction is correct the system loses no time due to instruction stall
waiting for the correct instruction. If the prediction is incorrect the queue
must be flushed and the new instructions loaded with a resulting performance
degradation.
Both hardware based and software based branch prediction solutions have been
proposed. U.S. Pat. No. 5,367,703 entitled "Method and System for Enhanced
Branch History Prediction Accuracy in a Superscalar Processor System" to
Levitan maintains a branch history table for each fetch position within a
multi-instruction access. The branch history table is used to predict whether
a branch will be taken or not taken. The branch history table consists preferably
of a two bit binary counter that is incremented or decremented depending
on whether or not the branch is taken.
An article entitled "Adaptive Branch Prediction" in the IBM Technical Disclosure
Bulletin, Vol. 36, No. 8, August 1993 by D. S. Levitan and D. E. Waldecker
suggests a system for predicting branches based on run-time branch statistics
or on historical branch statistics or on both during a single program execution.
An indicator is used to indicate when the processor should switch between
historical and run time prediction.
U.S. Pat. No. 4,430,706 entitled "Branch Prediction Apparatus and Method
for a Data Processing System" collects branch taken statistics in memory
hashed by instruction address. This allows the system to access the history
whenever that instruction is encountered.
IBM RISC System/6000 processors always choose to predict that a conditional
branch is not taken. IBM PowerPC processors (PowerPC is a trademark of IBM)
introduce a more sophisticated test based on three variables: 1) the branch
condition type; 2) the branch displacement sign bit; and 3) a branch predict
bit ("Y bit"). If the branch condition type is "branch always" or if the
branch displacement sign bit is set (i.e. a negative branch displacement)
then the branch is predicted taken if the Y bit is zero and predicted not
taken if the Y bit is one. Otherwise, the branch is predicted not taken if
the Y bit is zero and taken if the Y bit is one. The Y bit may be set or
cleared as desired to aid in branch prediction.
The PowerPC processor instruction set specifies the Y bit to be in bit 10
of in the instruction field of the branch condition operand (BO). The PowerPC
601 Processor User's Manual, Rev. 1, June 1993, page 3-68 states: "The y
bit provides a hint about whether a conditional branch is likely to be taken
and issued by the MPC601 to improve performance." Other processors may implement
a prediction bit in other ways. The precise format of the prediction bit
is not within the scope of the invention. The use of a prediction bit, in
whatever form, is within the scope of the invention.
Prior art compilers have attempted to perform static branch prediction
analysis in an effort to use the hardware features available. For
example, RISC System/6000 compilers attempt to generate conditional branches
with code that always falls through since the system always predicts the
fall through path. Compilers for the PowerPC processor could use static analysis
to set the branch prediction (Y bit). Static branch analysis, however, is
typically insufficient to accurately predict actual program behavior and
can actually reduce the branch prediction accuracy below the rate that would
occur if no prediction were used. Whether a branch is taken or not taken
depends on the data processed by the system and upon the assumptions and
style of the programmer.
Thus, a technical problem exists to develop a method for analyzing program
code to accurately predict the conditional branch selection for a program
during actual use and for using that information to optimize program execution
by modifying the executable code to optimize branch prediction.
SUMMARY OF THE INVENTION
The present invention is directed to a system and method for dynamically
analyzing conditional branch selection in program code under realistic execution
conditions and for applying that analysis to optimize that code.
The present invention provides a method for optimizing conditional branch
prediction in a computer program running on a computer processor, the method
comprising the steps of: compiling the computer program to create an executable
program; executing the executable program on the computer processor; collecting
statistics on the frequency of each conditional branch being taken or not
taken; modifying the executable program to cause branch prediction to be
correct a majority of the time based on the collected statistics.
It is therefore an object of the present invention to provide a method and
system for dynamically analyzing program code branch behavior and for applying
the results of that analysis to optimize the branch prediction for that code.
It is yet another object of the invention to introduce a method for determining
an execution profile based on a representative workload for a program.
The foregoing and other objects, features and advantages of the invention
will be apparent from the following more particular description of a preferred
embodiment of the invention, as illustrated in the accompanying drawing wherein
like reference numbers represent like parts of the invention.
BRIEF DESCRIPTION OF THE DRAWING
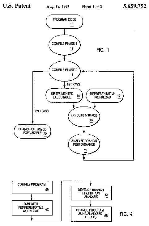
FIG. 1 is a flowchart illustrating the data flow in a system according to
the present invention.
FIG. 2 is a block diagram illustrating the components of a pipelined processor
system.
FIG. 3 is a block diagram illustrating a typical computer system for practicing
the present invention.
 |
FIG. 4 is a flowchart illustrating the steps of the method of the present
invention.
DETAILED DESCRIPTION
The preferred embodiment of the present invention is practiced using a computer
system such as that shown in FIG. 3. The system 30 includes one or more
processors 32, memory 34, and an I/O controller 36. I/O controller 36 controls
access to permanent storage such as disk unit 38. Disk unit 38 can contain
magnetic or optical storage or similar non-volatile data storage technology.
I/O controller also controls access to removable media unit 40 that can read
or write on removable medium 42. Removable medium 42 can be any know device
such as a flexible diskette, writable optical storage, read-only CD-ROM storage,
or removable hard disk. I/O controller also controls input and output to
the system user. Devices such as a keyboard 44, a pointing device 46 and
a display device 48 are all controlled by the I/O controller. The computer
system 30 may also be connected to other computer systems through a network
link 50. This network link can be of any known type such as token ring, Ethernet
or other network protocol and can connect to a local area network (LAN),
a wide area network (WAN) or other network structure.
Computer system 30 can be a computer system such as the IBM RISC System/6000
or IBM PowerPC processor. Other computer systems with similar pipelined
architectures could be used as the computer system without departing from
the spirit of the invention. The present invention operates in the memory
of the computer system. The preferred embodiment of the present invention
is embodied in a computer readable medium that causes the computer system
to perform the novel process steps of the invention. When the computer readable
medium is combined with a computer system, the combination creates a novel
and non-obvious apparatus for optimizing branch prediction in a pipelined
system.
The instruction fetch, decode and execution differs between different computer
system architectures. A generalized view of the process is shown in FIG.
2. The instructions are first fetched from memory 34 and decoded 22. The
decoded instructions are placed in the instruction queue 24. The processor
dispatches instructions from the instruction queue to one or more execution
units 26 that execute the instruction including accessing memory 34. The
system of the present invention works with pipelined computer systems that
enable parallel processing of the instruction fetch, decode and execution
stages so that the processing for successive instructions is overlapped.
The preferred embodiment of the present invention operates as shown in FIG.
1. The program to be optimized 10 is compiled using a compiler with a standard
branch prediction algorithm. The program is compiled through phases 1 and
2 12 14 to produce executable code 16. The executable code 16 is executed
with a representative workload 17 as input. Representative workload 17 is
selected as representative of the workload for which system through put
improvement is desired.
In the preferred embodiment the program code is "instrumented" to collect
the desired information by the compiler. Instrumentation of code refers to
the process of adding code that generates specific information to a log.
Instrumentation allows collection of the minimum specific data required to
perform the branch prediction analysis. General purpose trace
tools can be used as an alternative method for collecting data. General purpose
trace tools collect more information about the execution of the code with
the branch history information interspersed with the other execution information.
During execution 18 of the representative workload, statistics on branch
selection are collected. The collected data or trace data is analyzed 19
and optimized branch prediction data is generated. The collected data is
analyzed to determine how often the code branches in the direction opposite
to that predicted by the processor.
The optimized branch prediction data is fed back to the second phase of the
compiler during recompilation of the program code where it is used to optimize
the code to produce an optimized executable code module 20. Program code
for a processor that does not have a branch prediction bit is modified to
meet the branch prediction assumptions of the processor. For example, code
generated for an IBM RISC System/6000 processor is modified by changing the
branch condition and the branch target address to meet the "branch not taken"
assumption of the RISC System/6000 processor. As an alternative to recompilation,
the executable code generated in the first compilation could be modified
directly using the branch prediction data. In the PowerPC processor, for
example, bit 10 of the branch condition operand instruction can be set or
cleared based on the prediction data.
Direct modification of a branch prediction bit is less intrusive to the program
code than restructuring the code. This modification is less likely to introduce
unwanted artifacts into the code. Direct modification allows guaranteed
preservation of functionality; at worse, performance will be slower than
the unoptimized code.
Direct modification of the branch prediction bit also allows optimization
of products obtained only in executable form. Instrumentation and modification
of the executable code allows modification without access to the original
source code. Instrumentation of executable code is known in the art and could
be applied in this case to generate a trace file for branch prediction
analysis.
The optimized branch prediction data contains an indication of whether or
not certain branches were taken or not during execution of the representative
workload. This data is used to restructure the program to take advantage
of the actual branch history. The optimized program code will exhibit improved
performance on workloads that are the same or similar to those used for
profiling. If the workload differs greatly performance could be worse.
A program meant for execution on a RISC System/6000, for example, where the
hardware branch prediction circuitry predicts "branch not taken" is restructured
so that the predominant behavior is to not take the branch. A program meant
for the PowerPC processor is modified by setting or clearing the Y bit to
improve branch prediction.
An example of code modification for the PowerPC processor is shown below.
This example illustrates only a small portion of code. In actual programs,
it will be realized that significantly more code must be analyzed and modified.
FIG. 4 shows the process flow.
1. The process first compiles the code 50 to collect execution profile data.
The code to be analyzed is shown in Table 1. The first pass assembly code
generated by the compiler is shown in Table 2. The executable program is
instrumented to optimize branch prediction. This can be done by adding code
to count the number of times a branch is taken or not taken.
2. The instrumented program is then run 52 for the desired or representative
workload. Alternatively, an existing trace tool can be used to collect data
from the original uninstrumented program.
3. The profile data or trace data is then analyzed 54 to determine branch
tendencies, i.e. which way each branch is typically executed (taken or not.)
In the above example, the branch at instruction address
0.times.10000260 is taken 950 times and not taken 50 times (i.e. d[i] is
usually not equal to -1.)
4. The program code is then modified based on the branch prediction.
Modifications are made to make the code match the assumptions of the processor
on which it will be executed. This modification, in the preferred embodiment,
adjusts the Y bit the executable image for a program for a PowerPC processor
as follows:
For each conditional branch instruction in the executable program image:
set the Y bit to 1 if:
the branch is predicted taken (the displacement is negative) but the profile
data shows it is taken less than 50% of the time (i.e. usually not taken);
or
the branch is predicted not taken (positive displacement) and the profile
data shows that it is taken more than 50% of the time (i.e. usually taken.)
otherwise, set the Y bit to 0 (i.e. the branch is predicted taken and usually
taken or predicted not taken and usually not taken.)
The resulting optimized code is shown in Table 3. Modifications to code without
a branch prediction bit are made by changing the branch conditions or by
restructuring code.
Other forms of processor optimization can be introduced using the techniques
of the present invention. Instructions likely to affect performance can be
instrumented and then the program code modified to match program execution
to processor expectations.
It will be understood from the foregoing description that various modifications
and changes may be made in the preferred embodiment of the present invention
without departing from its true spirit. It is intended that this description
is for purposes of illustration only and should not be construed in a limiting
sense. The scope of this invention should be limited only by the language
of the following claims.
* * * * *