|
|
|
This file is available on a Cryptome DVD offered by
Cryptome. Donate $25 for a DVD of the Cryptome
10-year archives of 35,000 files from June 1996 to June 2006 (~3.5 GB). Click
Paypal or mail check/MO made out to John Young, 251 West 89th Street, New
York, NY 10024. Archives include all files of cryptome.org, cryptome2.org,
jya.com, cartome.org, eyeball-series.org and iraq-kill-maim.org. Cryptome
offers with the Cryptome DVD an INSCOM DVD of about 18,000 pages of
counter-intelligence dossiers declassified by the US Army Information and
Security Command, dating from 1945 to 1985. No additional contribution required
-- $25 for both. The DVDs will be sent anywhere worldwide without extra
cost. |
21 July 2005
See also NSA patent No.
6,912,700, Method
and system for non-linear state based satisfiability, issued on June
28, 2005.
Source:
http://patft.uspto.gov/netacgi/nph-Parser?Sect1=PTO1&Sect2=HITOFF&d=PALL&p=1&u=/netahtml/srchnum.htm&r=1&f=G&l=50&s1=6,912,284.WKU.&OS=PN/6,912,284&RS=PN/6,912,284
| United States Patent |
6,912,284 |
| Palmatier
|
June 28, 2005 |
Self-Authenticating cryptographic apparatus
Abstract
A self-authenticating apparatus for effecting secure communication of a binary
signal. In the encipherment apparatus, key is generated as a function of
plain text summed with a pseudorandom linear sequence. The decipherment apparatus
performs a reverse function in an autokey mode. Incoming cipher text is summed
with generated key to create a plain text stream. As in the encipherment
device, key is generated as a function of the resulting plain text summed
with a pseudorandom linear sequence.
| Inventors: |
Palmatier; Thomas E. (Laurel, MD) |
| Assignee: |
The United States of America as represented
by the National Security Agency (Washington, DC) |
| Appl. No.: |
509268 |
| Filed: |
June 13, 1983 |
| Current U.S. Class: |
380/44; 380/42; 380/43;
380/46; 380/28; 380/277 |
| Intern'l Class: |
H04L 009//28; H04L 009//18; H04L
009//20; H04L 009//22 |
| Field of Search: |
178/2213,221.4,221.7,221.9
380/255,259,260-266,277,278,44,45,46,47,28,29,30,287,59,35,36,37,42,43 |
References Cited
[Referenced
By]
U.S. Patent Documents
Primary Examiner: Gregory; Bernarr E.
Attorney, Agent or Firm: Utermohle; John R., Maser; Thomas O.
Claims
1. A secure communications system, comprising:
an encryptor including an information signal source, a first pseudorandom
signal source, means for summing said information signal and said first
pseudorandom signal, means for generating a first key signal, said first
key signal being a predetermined function of said summed information and
said first pseudorandom signals, and means for summing said information and
key signals to produce a cipher signal; and decryptor including means for
receiving said cipher signal, a second pseudorandom signal source, means
for generating a second key signal, means for summing said cipher signal
and said second key signal to produce a plain text signal, and means for
summing said second pseudorandom signal and said plain text signal, said
second key signal being a predetermined function of said summed plaintext
and pseudorandom signals.
2. The apparatus of claim 1 wherein said first and second pseudorandom signal
sources are linear sequence generators.
3. The apparatus of claim 1 wherein said means for generating first and second
signals each comprise a shift register having an plurality of outputs and
combining means connected to said outputs.
4. The apparatus of claim 3 wherein said combining means comprises a plurality
of logic gates interconnected so as to receive a plurality of inputs and
to provide a single output.
5. The apparatus of claim 3 further comprising a permuter connecting the
outputs of said shift register and the inputs of said combiner.
6. An encipherment apparatus, comprising:
an information signal source;
a pseudorandom signal source;
means for summing said information signal and said pseudorandom signal;
means for generating a key signal, said key signal being a predetermined
function of said summed information and pseudorandom signals; and
means for summing said information and key signals to produce a cipher signal.
7. The apparatus of claim 6 wherein said pseudorandom signal source is a
linear sequence generator.
8. The apparatus of claim 7 wherein said key generating means comprises a
shift register having a plurality of outputs and combining means connected
to said outputs.
9. The apparatus of claim 8 wherein said combining means comprises a plurality
of logic gates interconnected so as to receive a plurality of inputs and
provide a single output.
10. The apparatus of claim 9 further comprising a permuter connecting the
outputs of said shift register and the inputs of said combiner.
11. A decipherment apparatus, comprising:
means for receiving an enciphered signal;
a pseudorandom signal source;
means for generating a key signal;
means for summing said enciphered signal and said key signal to produce a
plain text signal; and
means for summing said pseudorandom signal and said plain text signal;
wherein said key signal is a predetermined function of said summed plain
text and said pseudorandom signals.
12. The apparatus of claim 11 wherein said pseudorandom signal source is
a linear sequence generator.
13. The apparatus of claim 12 wherein said key generating means comprises
a shift register having a plurality of outputs and combining means connected
to said outputs.
14. The apparatus of claim 13 wherein said combining means comprises a plurality
of logic gates interconnected so as to receive a plurality of inputs and
provide a single output.
15. The apparatus of claim 14 further comprising a permuter connecting the
outputs of said shift register and the inputs of said combiner.
Description
BACKGROUND OF THE INVENTION
1. Field of the Invention
My invention relates to the field of message enciphering and deciphering,
and more particularly to key generating by autokey techniques.
2. Description of the Prior Art
Autokey encipherment or encryption refers generally to a substitution cipher
in which the key, following the application of an initial key, is determined
in whole or in part by preceeding elements of the key or cipher. The most
common autokey systems include those known by the terms key autokey and cipher
text autokey. In a key autokey encryptor, each key bit generated is a function
of one or more prior key bits. Key in a cipher text autokey encryptor is
a function of a prior sum of key and plain text bits, that sum comprising
the enciphered message.
An important advantage of an autokey system is its ability to self-synchronize;
i.e., the receiving key generator is not required to be preset to a previously
determined value prior to receiving and decoding cipher messages. Cipher
text autokey systems continuously self-synchronize throughout the transmission,
while key autokey systems may be initially synchronized by temporarily operating
in a CTAK mode until synchronization is achieved. Inherent in prior autokey
systems is the feature of limited error extension. That is, a transmission
error affects the key generated by the receiver for only a limited number
of steps while the bit in error passes through the key generator register,
after which the error no longer has any effect. The reverse of limited error
extension would be infinite error extension, i.e., an incorrectly received
data bit would be inserted into the receiver key generator with the result
that all succeeding key bits could be affected.
An advantage of infinite error extension is its capability to insure to a
high degree of probability that a message has been received without error.
For example, a message to be enciphered might have a plurality of zeros or
ones appended to it prior to encipherment and transmission. The receiver
would decipher the message, utilizing the received signal to develop the
decipherment key. The recovered message would contain the string of appended
zeros or ones only if each bit in the enciphered message had been received
without error, thereby insuring accuracy to a very high degree of probability.
In general, it is well known that m check bits can give at most 2-;m
protection, i.e., the likelihood that an incorrectly received message
will test out as correct is ½m. An encipherment system employing
a 2n state key generator can give at most 2-;n
protection. A system utilizing both of the above will provide protection
against an error going undetected with a probability equal to the lesser
of 2-;m or 2-;n.
Heretofore, infinite error extension has not been available in any form having
acceptable cryptographic characteristics. My invention overcomes this deficiency
in the art of enciphered message communications by providing an
enciphering/deciphering system having infinite error extension plus a high
degree of cryptographic security.
SUMMARY OF THE INVENTION
It is an object of my invention to provide message authenticity with a low
probability of error.
A further object is a message encryptor/decryptor having infinite error
extension.
A still further object is an improved autokey cipher.
Another object is an autokey system incorporating a linear sequence generator.
Still another object is an autokey system which provides authentication without
the need for a parity check code.
It is also an object to present a cryptographic apparatus having
self-authenticating capability.
Also, it is an object to provide for encipherment and authentication in a
single process, thereby reducing the complexity of the required equipment.
Finally, an object is to provide a capability for self authentication of
arbitrary length messages.
An autokey encipherment/decipherment system having these and other desirable
capabilities comprises an encryptor including an information signal source,
a first pseudorandom signal source, means for summing said information signal
and said first pseudorandom signal, means for generating a first key signal,
said first key signal being a predetermined function of said summed information
and said first pseudorandom signals and means for summing said information
and key signals to produce a cipher signal; and
a decryptor including means for receiving said cipher signal, a second
pseudorandom signal source, means for generating a second key signal, means
for summing said cipher signal and said second key signal to produce a plain
text signal, and means for summing said second pseudorandom signal and said
plain text signal, said second key signal being a predetermined function
of said summed plaintext and pseudorandom signals.
DESCRIPTION OF THE PREFERRED EMBODIMENT
 |
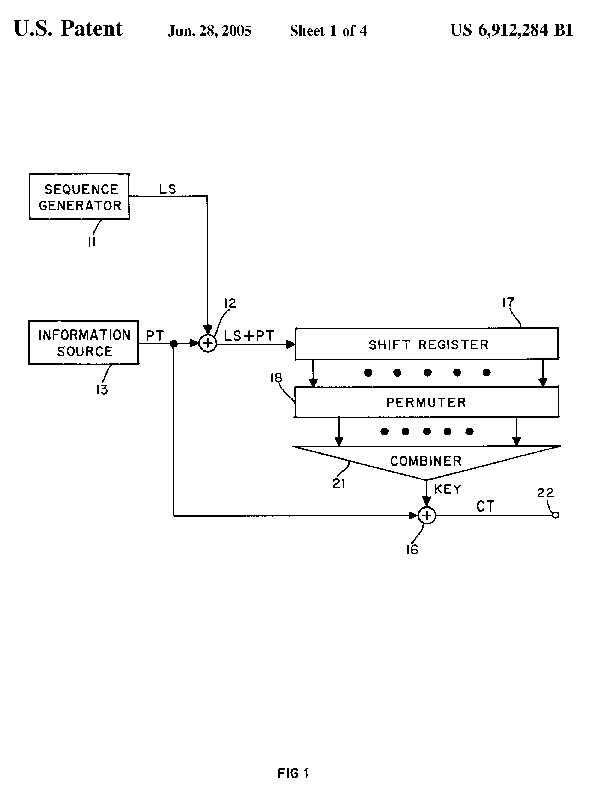
FIG. 1 illustrates a digital data encryption device, or encryptor, embodying
the essential elements of my invention. It includes a sequence generator
11 having a shift register, the last stage of which is connected to
a first input of a modulo-2 adder (exclusive OR logic gate) 12.
A source of binary plain text signals 13 is connected to a second
input of adder 12 and also to a first input of a second
modulo-2 adder 16. The output of adder 12 is connected
to the input of the first stage of a second multi-stage shift register
17. A permuter 18 receives a plurality of inputs from register
17 and provides outputs to a combiner 21, described further
hereinbelow. The combiner sends a signal output to adder 16. Terminal
22 connects the encoder output to any conventional means (not shown)
for conveying the enciphered signal to the decryptor, such as a transmitter
or wire line.
Register 17 may be a conventional serial shift register. The number
of stages in the register is not of significance to the operation of my
invention, although the security of the encrypted message may be improved
by the use of a longer register. A typical system might employ a register
17 of about 64 stages.
The function of sequence generator 11 is to produce a binary bit sequence
which is reproducable by one having knowledge of the device and the initial
fill, but which appears random to one not having such knowledge. It is further
desirable-that the sequence not be repetitive except over very long periods.
One method of achieving such results is to feed the content of selected stages
of a shift register into a mod-2 adder and the sum back into the first
stage of the register. Maximal length linear sequence generator cycles are
readily achievable by proper selection of the register taps, as further described
in Peterson, Wesley W., Error-Correcting Codes, (New York: John Wiley &
Sons, 1961) pp. 118-123. For example, FIG. 3 illustrates a 17-bit long shift
register 26 which will produce a non-repeating cycle of length.
217-;1 by feeding back the binary sum of stages 14 and
17 via exclusive OR gate 27. In practice, a shift register
of 41 or more stages might be used to increase the length of the cycle.
It is considered desirable to choose registers having a prime number of stages
for this purpose.
 |
Permuter 18, which is an optional feature of my invention, might be
a matrix arrangement by means of which stages of register 17 may be
selectively routed to inputs of combiner 21. The setting of the permuter
should include a large number of possibilities, and comprises the primary
variable in the security of the apparatus. In the alternative, the permuter
might be as complex as that utilized for the Data Encryption Standard (DES),
described in U.S. Pat. No. 3,796,830 to Smith, entitled "Recirculating Block
Cipher Cryptographic System", and U.S. Pat. No. 3,798,359 to Feistel, entitled
"Block Cipher Cryptographic System."
Combiner 21 may be any of 22n multi-input,
single output logic networks where n is the number of stages in register
17. It might be as simple as a 2-input adder or multiplier or as complex
as a multi-level network comprising many gates. An eight input combiner is
illustrated in FIG. 4 as a representative example. It is desirable that the
combiner have a statistically equal likelihood of producing a 0 or a 1 at
its output for all possible combinations of inputs. In this particular example,
selected stages of shift register 17 are connected either directly
or through permuter 18 to the inputs a through h. AND gate 41
multiplies the value of inputs a and b and the product is provided as a first
input to OR gate 42. AND gate 43 similarly multiplies the value
on inputs c and d, with the product routed to a second input of OR gate
42. The product of inputs e and f from gate 46 and of inputs
g and h from gate 47 are ORed together by gate 48. An exclusive
OR gate 51 sums the outputs of gates 42 and 48, with
the result made available at output terminal 52.
 |
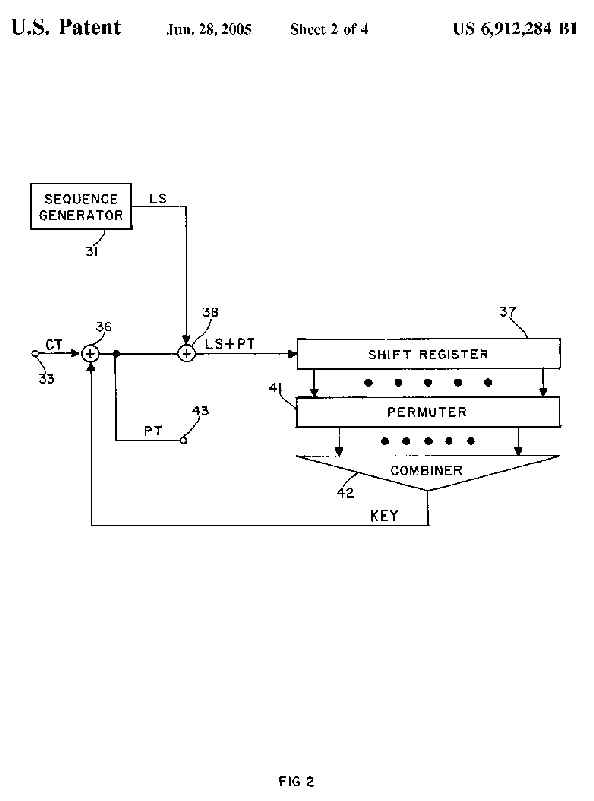
FIG. 2 illustrates a decryptor embodying the essential features of my invention.
A sequence generator 31 must be identical to sequence generator
11 in the encryptor of FIG. 1. A terminal 33 connected to a
source of enciphered information provides a first input to a modulo-2
adder (exclusive OR gate) 36. A second shift register 37, which
must be the same size as register 17 of FIG. 1, is fed by
modulo-2 adder 38. Inputs to adder 38 include the output
of adder 36 and the output from sequence generator 31. A permuter
41, configured and preset in the same way as permuter 18 of
FIG. 1 receives a plurality of inputs from register 37 and routes
them to a combiner 42. The output of combiner 42 is connected
to a second input of adder 36. The output of the decoder may be detected
at terminal 43 for subsequent use.
OPERATION OF THE APPARATUS
My invention finds its primary utility in A digital data encipherment system,
the purpose of which is to disguise transmitted information in such away
that one having access to the enciphered signal transmitted between terminal
22 of the encryptor and terminal 33 of the decryptor will be unable to figure
out the underlying information.
It is necessary that permuters 18 and 41 be preset to an identical state
prior to transmission or receipt of data. Also, each of the sequence generators
11 and 31 must be preset to a common state. During the initialization process,
the input from formation source 13 is blocked (or set to a constant 0) and
generator 11 allowed to step an equal number of times at least equal to the
number of stages in register 17. Simultaneously in the receiver, both inputs
to adder 36 are blocked and generator 31 is caused to step an equal number
of times as generator 11. The result of the foregoing is to fill registers
17 and 37 with an identical, bit sequence. The apparatus is ready to transmit
and receive enciphered data when the previously blocked inputs are activated.
Referring to FIG. 1, it may be seen that the bit sequence designated CT (cipher
text) is the modulo-2 sum of the sequences designated PT (plain text) and
KEY. The input to register 17 is the sum of PT and LS, and KEY is uniquely
determined by the content of register 17. Referring to FIG. 2, PT is the
sum of CT and KEY, and the input to register 37 is the sum of PT and LS.
 |
Note that in both the encryptor and the decryptor, the key register is filled
by an identical sequence (PT plus LS) and thus KEY will also be the same
in both devices. It necessarily follows that plain text entering the encryptor
at terminal 13 will emerge as an identical sequence at terminal 43 of the
decryptor.
A unique feature of my invention lies in its ability to insure with a high
degree of probability that a message has been received without error. Previously
used encipherment systems have not utilized feedback in the decryptor portion
of the system. The inclusion of feedback in my invention causes a transmission
error to be perpetuated throughout the remainder of the message because KEY
is a function of all previous received signals. It is possible therefore
to establish with near certainty that a message has been received without
error by appending a string of zeros (or ones, or any other preestablished
string) at the end of the message to be transmitted. The string of zeros
will be present in the deciphered message if all previous bits of the message
were received and decoded without error. The preferred embodiment described
herein above is subject to many modifications, which will be readily apparent
to one skilled in the art, without departing from the scope and spirit of
my invention. The claims enumerated below set forth the limits of the invention.
* * * * *