19 July 2004. Several readers have confirmed that the aircraft is indeed a prop for a movie called "Stealth." Thanks to T, the original photo has been replaced by a composite of these four US Navy photos:

http://www.news.navy.mil/management/photodb/photos/040618-N-8497H-031.jpg

http://www.news.navy.mil/management/photodb/photos/040618-N-6817C-036.jpg

http://www.news.navy.mil/management/photodb/photos/040618-N-6817C-089.jpg

http://www.news.navy.mil/management/photodb/photos/040618-N-6817C-098.jpg

T. suggests:

This looks a whole bunch like this plane, "The Switchblade". Almost too much. Looks like a film crew in white warning vests and camera to the right front of the nose. No visible tailhook. A movie prop?

http://www.area51zone.com/aircraft/switchblade.shtml

P. also suggests this is an aircraft constructed for a movie filmed on the carrier USS Lincoln:

http://www.cvn72.navy.mil/news/stealth.html

19 July 2004.

Identification of this aircraft invited: send to jya@pipeline.com


e.coli writes:

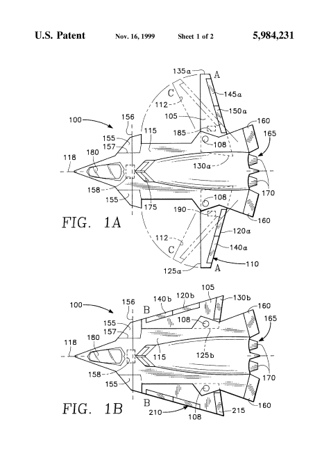
The image appears to be real, V-tail, smooth  countours, buried engines, chines, folded forward wings for stowage on a carrier. It appears the body would generate a good portion of the lift (original photo top left).